Создание полезных приспособлений для гаража своими руками
Чтобы осуществлять ремонтные и сервисные работы, потребуется соорудить смотровую яму в гараже своими руками, размеры которой будут соответствовать габаритам авто, а также верстак для удобной работы, плюс снабдить помещение станками.
Основной набор инструментов и материалов для создания самодельного верстака для гаража включает:
- доски и деревянные бруски;
- крепежные элементы и стяжки;
- рубанок и другие инструменты для обработки дерева;
- лакирующий и столярный клеевые составы;
- наждачную бумагу и олифу.

Пример размещения в гараже полезных приспособлений: 1 — верстак с ручными станками, 2 — стеллажи и шкафы, 3 — стол для проведения различных ремонтных работ, 4 — полка для хранения шин, 5 — смотровая яма
Технология изготовления верстака в гараже своими руками: фото, чертежи
Верстак состоит из столешницы и подстолья, а также нескольких устройств зажимного типа. Высоту верстака в гараже следует подбирать с учетом собственного роста. Можно взять в качестве ориентира высоту кухонного стола в доме, за которым удобно работать. Обязательно составьте для создания верстака для гаража своими руками чертежи.
Обустройство гаража: как сделать верстак в помещении:
| Этап работы | Детали, размер в см | Тип крепления |
| Сборка столешницы | 20 досок (5х10х200) с пазами 2,5х2,5 в 5-ом и 16-ом элементе (шаг 25) | Клеевой состав металлические стяжки |
| Сушка | — | — |
| Изготовление ножек (4 шт.) | Брусок (10х10х80) с пазами под кронштейны на передних опорах | Кронштейны |
| Сборка основания подстолья | Рамы (2 шт.) из досок (5х10) | Соединение «в шип» на глубину 2,5 см и болты |
| Фиксация боковых и задних опорных стенок | Плиты ДСП (толщина 10 мм) | Шурупы |
| Фиксация столешницы к верхней раме | — | Болты |
Заключительная обработка предполагает пропитку готового изделия олифой и вскрытие лаком.
Рекомендации по созданию смотровой ямы в гараже своими руками
Не существует определенных размеров смотровой ямы в гараже. В качестве основы берутся габариты автомобиля.
Как сделать смотровую яму в гараж с оптимальными параметрами:
Ширина подбирается с тем расчетом, чтобы внутри было достаточно места для работы. Размер ограничен расстоянием, на которое посажены колеса авто. Каждое колесо нуждается в небольшой площади для выполнения маневров. Средняя ширина ямы составляет 0,8 м.
Длина ямы ограничивается длиной машины. К этому показателю следует добавить 1 м.
Для расчета глубины используется рост владельца гаража. К нему прибавляется еще 10-15 см.
Как правильно сделать смотровую яму в гараж с использованием разных материалов:
| Материал | Толщина стенок, см |
| Керамический кирпич | 12-25 |
| Бетон | 15 |
| Строительные блоки | 20 |
Котлован вырывается с учетом оптимальной ширины ямы, материала, выбранного для стенок, а также толщины гидроизоляционного слоя. Этапы создания ямы:
- разметка;
- строительство котлована;
- обустройство котлована;
- строительство стен;
- прокладка освещения.
Для гидроизоляции стен применяется специализированная гидрофобная пропитка.

Схема обустройства смотровой ямы: 1 — стенки из пеноблоков, 2 — гидроизоляция, 3 — бутовая кладка. 4 — уголок размером 50х50х4 мм
Изготовление пресса для гаража своими руками
Для создания пресса следует изготовить из 4 отрезков металлических труб каркас размером 178х80 см. Эти элементы соединяются методом сварки. В работе рекомендуется руководствоваться чертежами, заранее подобранными или составленными. После этого нужно установить:
- фиксатор;
- съемный упор;
- бутылочный домкрат (гидравлический).
Можно использовать для рассмотрения подробной технологии создания полезных приспособлений для гаража своими руками видео-материалы. Такие наглядные рекомендации помогают сориентироваться в размерах, освоить пошаговые инструкции и представить, какой внешний вид должна иметь готовая конструкция.

Схема изготовления гидравлического пресса: 1 — верхняя силовая платформа, 2 — гайки, 3 — нижняя платформа, 4 — шпильки диаметром 30 мм, 5 — нижняя резьба шпилек, 6 — гидравлический домкрат бутылочного типа; 7 — основание толщиной 20 мм
Обустройство гаража можно сделать собственными руками. На этом список полезных приспособлений не заканчивается. Его всегда можно дополнить любыми интересными идеями. Главное, чтобы гараж полностью соответствовал личным требованиям в отношении комфорта и удобства.
Типы и их функциональные особенности
Для удобства и комфорта в гаражном помещении устанавливают различную мебель. Шкаф представляет собой металлический или деревянный короб с многочисленными полками, закрытыми дверцами.
Шкафы необходимы для поддержания чистоты и порядка. На полках аккуратно размещаются все необходимые предметы и инструменты. В любой момент их можно быстро найти на своем месте.
Стационарные
Стационарные виды шкафов состоят из несущего каркаса, на который закрепляют полки в горизонтальном положении или вертикальные стойки. Правильно установленные полки при монтаже могут выдерживать тяжелый вес. На них можно размещать ящики для инструментов небольшого и среднего размера, предметы по уходу за автомобилем.
Самую нижнюю полку делают на некотором расстоянии от пола. Нижнее пространство обычно оставляют достаточно широким, чтобы разместить габаритные элементы гаража, например, колеса.

Передвижные
Конструкции данной разновидности оснащены колесиками. Очень удобно наличие подобной мебели. В любое время шкаф можно передвинуть на другое место, не разгружая содержимое. Но колесики не выдерживают слишком тяжелые нагрузки, поэтому предметы с большим весом на полках хранить нельзя.

Навесные
Если внутреннее гаражное пространство небольшое, то идеальным вариантом становится изготовление навесных ящиков. В них делают несколько полок. На самых верхних полках хранят предметы, которые используются редко. На нижних полках следует складывать вещи, которыми пользуются часто.
Навесные шкафы делают небольшого размера и вешают на одну из свободных стен, ближе к потолку. На полках хранить можно только среднего веса предметы и вещи. Зато конструкция значительно экономит пространство.
Материалы для отделки
После составления несложного проекта, необходимо определиться с отделочными материалами для стен, пола и потолка. При этом в первую очередь учитываются технические характеристики различных вариантов отделки
Но и эстетичность тоже принимается во внимание, так как дизайн гаража имеет не последнее значение в его обустройстве
Главные требования к материалам для внутренней отделки гаража:
- негорючесть;
- нетоксичность;
- устойчивость к механическому воздействию;
- устойчивость к воздействию химических веществ;
- устойчивость к загрязнениям;
- неприхотливость в уходе.
Штукатурка
Наиболее экономичный вариант отделки стен, это оштукатуривание. Качественно нанесенная штукатурка прослужит много лет. Основное преимущество данного варианта – это абсолютная пожарная безопасность. Из минусов можно отметить длительность процесса оштукатуривания и необходимость привлекать к процессу квалифицированных специалистов.
Гараж с оштукатуренными стенамиИсточник eastcoastrapist.com
Краска
Стены под покраску нужно прогрунтовать и пошпаклевать. В результате должна получиться ровная поверхность с хорошей адгезией. Часто для внутренней отделки гаража используют фасадные водоэмульсионные краски. Они не поддаются воздействию влаги и обладают высокой устойчивостью к истиранию.
Нередко используются и акриловые краски, которые подходят для работы с любым основанием. Такой краской можно покрыть оштукатуренную стену, стену из кирпича или, например, бетона. Это самый экономичный вариант окрашивания для гаражных стен.
Специалисты рекомендуют стены из кирпича окрашивать фасадными красками глубокого проникновения. Они равномерно заполняют поры керамической стены и бетонные швы. В результате получается надежное защитно-декоративное покрытие.
Если стена бетонная, лучше задекорировать ее акриловой краской на основе органических смол. В этом случае помещение не утратит способность самовентилироваться, и в гараже всегда будет оптимальный уровень влажности.
Покраска стен в гаражеИсточник eurodomik.ru
Кафель
Керамическая плитка применяется для облицовки стен в любых помещениях с высокой влажностью и перепадами температуры. Это надежный и долговечный материал, легко поддающийся чистке и не требующий сложного ухода. Тем менее, кафельная отделка редко применяется в оформлении гаражей из-за довольно высокой стоимости.
Кафель на стенах гаражаИсточник stroyfora.ru
Вагонка
Гараж можно отделать деревянной или пластиковой вагонкой. Деревянная отличается повышенной возгораемостью, но, несмотря на это, многие автолюбители выбирают для своих гаражей именно такой вариант облицовки. Здесь огромную роль играет эстетическая привлекательность деревянных панелей, которые делают техническое помещение более комфортным для длительного пребывания.
Кроме эстетики деревянная вагонка отличается удобством в эксплуатации. На нее легко можно навесит полку или вешалку. Поэтому количество гаражей, оформленных данным способом не уменьшается. Хорошо, что в настоящее время риск возгорания деревянной вагонки в гараже можно (и нужно) снизить при помощи специальных пропиток.
Деревянная вагонка в отделке гаражаИсточник les66.ru
Пластиковые панели, несмотря на то, что монтируются так же, как и деревянные, представляют собой принципиально иной вариант отделки. Пластик гораздо менее горючий материал. Но у него другой существенный недостаток – он очень хрупкий. В гараже с такой отделкой нельзя рассчитывать на настенное оборудование, все стеллажи должны быть только напольными. К тому же пластиковую вагонку очень легко повредить механически.
Пластиковая вагонка в отделке гаражаИсточник stroypomochnik.ru
Сайдинг
Монтируется сайдинг на обрешетку, так же, как и вагонка. Для внутренней отделки гаража используется пластиковый или металлический сайдинг. Металлический лучше по нескольким показателям – он пажаробезопасен, невосприимчив к агрессивным чистящим составам, устойчив к перепадам температур и достаточно прочен.
Отделка гаража сайдингомИсточник 24segodnya.ru
Функции отделки гаража внутри – дизайн и защита стен. Выбирая вариант материал для внутреннего оформления нужно помнить о том, что он должна быть долговечным, надежным и эстетичным.
Вариант внутреннего оформления гаражаИсточник amukraine.org
Отделка потолка
Потолок часто отделывают тем же материалом, что и стены. Его можно покрасить, покрыть штукатуркой, обшить сайдингом или вагонкой. А можно применить другой вид материала и сделать потолок из гипсокартона или профлиста.
Потолок гаража отделанный вагонкойИсточник drive2.ru
Что можно сделать?
Лайфхаки для улучшения гаражного пространства многообразны, но самым важным среди них будет органайзер для хранения мелких инструментов и крепежа. В качестве импровизированного накопителя подойдет даже форма для кексов.
Во многих гаражах уже есть различные полки, но они легко могут быть улучшены. Снизу гармонично размещается потайной резервуар, который делают из банок со снимающимися крышками. Эти крышки присоединяют к самим полкам на шурупы, а затем накручивают банки. Туда складывают гвозди, саморезы и иные незначительные предметы из металла.
Когда такое решение не нравится, или его оказывается недостаточно для размещения всех аксессуаров, стоит закрепить на стене магнит. Он спокойно удержит насадки на шуруповерт и ряд инструментов.
А если не ограничиваться тем, что вы можете сделать собственноручно, стоит подумать и о стеллажах с перфорированными панелями, крючками и лотками.
Что можно сделать?
Лайфхаки для улучшения гаражного пространства многообразны, но самым важным среди них будет органайзер для хранения мелких инструментов и крепежа. В качестве импровизированного накопителя подойдет даже форма для кексов.


Во многих гаражах уже есть различные полки, но они легко могут быть улучшены. Снизу гармонично размещается потайной резервуар, который делают из банок со снимающимися крышками. Эти крышки присоединяют к самим полкам на шурупы, а затем накручивают банки. Туда складывают гвозди, саморезы и иные незначительные предметы из металла.


Когда такое решение не нравится, или его оказывается недостаточно для размещения всех аксессуаров, стоит закрепить на стене магнит. Он спокойно удержит насадки на шуруповерт и ряд инструментов.
А если не ограничиваться тем, что вы можете сделать собственноручно, стоит подумать и о стеллажах с перфорированными панелями, крючками и лотками.


В помещении для транспортного средства неизменно будут находиться различные клейкие ленты и скотч, пользу которых люди оценили уже давно. Но чтобы такие приспособления не откатывались в самые дальние углы и не приклеивались в различные места, стоит использовать своего рода шкатулку для подобных изделий.


Обустройство гаража
Существует множество приспособлений для гаражных условий, а наиболее популярные и полезные из них рассмотрим в деталях.
Раскладная лестница в яму
Чтобы пользоваться смотровой ямой, так или иначе приходится задействовать лестницу. Можно сделать конструкцию из кирпича, но она отнимет часть полезного пространства. Также возможен самый простой вариант – установить обычную приставную лестницу из дерева. Однако наиболее удобной будет раскладная конструкция.
Для изготовления такой лестницы в домашних условиях потребуются:
- профтруба;
- металлический уголок и полоса;
- доска;
- крепеж;
- болгарка;
- ножовка по дереву;
- дрель;
- сварочный аппарат;
- циркулярка, фуганок и фрезер;
- шуруповерт;
- рулетка.
Инструкция по конструированию:
- Изготавливаем шаблон, для чего на плите ОСБ чертим рисунок будущего изделия в масштабе 1:1.
Детальнее разобраться в конструкции поможет видео с ютуба:
Токарный станок
Такие изделия, как ручка для напильника или стамески, будут незаменимыми не только в гараже, но и в хозяйстве. Сделать их можно на токарном станке.
Для сооружения самодельного устройства нужно подготовить:
- электромотор;
- доску;
- небольшой лист металла;
- крепеж;
- электродрель;
- отвертку;
- паяльник.
- В доске для станины прорезаем прямоугольное отверстие длиной 2/3 от длины заготовки.
- Из листового металла изготавливаем деталь, как на фото.
- Крепим накладку к доске.
- Фиксируем электромотор. Он должен располагаться на одной оси с прорезью.
- Из отрезка трубы конструируем бабку, запиливаем деталь, как на фото, после чего припаиваем к коронке гайку. Закрепляем бабку к валу мотора.
- Из металла делаем подручник и крепим его к станине.
- Для изготовления задней бабки из металла мастерим уголок, сверлим отверстие на одной высоте с передней бабкой и припаиваем гайку. В нее вкручиваем болт с заточенным концом. Чтобы закрепить бабку к станине, в уголке сверлим 2 отверстия и производим фиксацию.
На этом изготовление токарного станка завершается, после чего можно приступать к обработке деревянных заготовок.
Откидной стол
Одной из полезных и интересных самоделок в гараже, которую можно сделать своими руками, является стол. Чтобы конструкция при обустройстве помещения занимала мало места, следует изготовить откидной вариант по фото и видео.
Для сборки потребуются:
- ДСП;
- петли;
- крепеж;
- металлические уголки;
- брусок;
- анкеры.
Конструируем стол следующим образом:
- На стене выполняем разметку высоты стола при помощи строительного уровня. В бруске сверлим отверстия и закрепляем его к стене анкерами.
- На брусьях для ножек размечаем места крепления уголков.
- Сверлим в дереве отверстия и монтируем гайки.
- Аналогичным образом делаем посадочные места под гайки в столешнице и вставляем крепеж.
- К бруску на стене, а после к столешнице крепим петли.
- Чтобы снять ножки, слегка отворачиваем винты.
- На стене закрепляем брусок со шпингалетом, чтобы была возможность фиксации столешницы в сложенном состоянии.
Стеллажи
Незаменимой самоделкой для гаража и домашнего мастера будет стеллаж, собрать который своими руками не составит большого труда. Лучше всего отдавать предпочтение металлическим и деревянным изделиям.
Аксессуары для гаража: обустройство помещения
Прежде, чем мы приступим к описанию способов изготовления принадлежности для гаража, предлагаем навести порядок в самой автомастерской. Ведь у каждого инструмента должно быть свое место, так вам будет легче работать.
Самодельные инструменты очень практичны, но не всегда выглядят эстетично, поэтому их лучше убирать от посторонних глаз. А вот, например такое приспособление, как сверлильный станок и домкраты, можно поставить на видное место.
Теперь подробнее об организации рабочего пространства. Если вы решили сделать автомастерскую в гараже, и зарабатывать на этом деньги, то вам придется соответственно подготовить пространство.
Как организовать пространство для хранения инструмента в гараже:
- Прежде всего, мы советуем изготовить вам несколько деревянных ящиков. В некоторых из них можно сделать полку с отверстиями для отверток.
- Также необходимо сделать передвижные стеллажи, для тяжелого инструмента. Это позволит вам менять местоположения этих полок, ставя их на удобное для вас место.
- Чтобы в процессе работы, вам не приходилось постоянно бегать за инструментом, вы можете использовать специальный пояс, в который поместятся предметы первой необходимости. Такие приспособления можно купить или сделать самостоятельно.
Такие самодельные места для хранения инструмента поможет вам организовать пространство в гараже. Благодаря этому, все необходимое всегда будет находиться под рукой. Это существенно сэкономит ваше время.
Полки для гаража своими руками
Практически 80% полок в гараже нужны для того, чтобы хранить разные приспособления и принадлежности, такие как:
- инструменты и дополнительные приспособления для гаража;
- комплектующие детали для транспортного средства;
- аксессуары.
Очень часто полки, которые делают своими руками, совмещают со стеллажом. Он тоже делается своими руками. Именно стеллаж рассматривают как основное место для хранения вещей. А когда стеллаж установлен, остается заполнить его вместительными и удобными полками для приспособлений гаража.
Требуется выделить место в гараже под хранение рабочей одежды. Лучше разместить его около двери, чтобы вы могли сразу раздеться по приходу в гараж, а потом снова переодеться, выходя из него. Не нужно создавать целый шкаф или большую вешалку. Иногда достаточно одной полки с крючком. Однако, все зависит от потребностей.
Стоит учитывать, что гараж – это помещение с опасными легковоспламеняющимися материалами: бензин, масло, краска, растворитель, полироль и т. д. Поэтому нужно сделать отдельный шкаф, где будут храниться все эти материалы. Возле него установить огнетушитель и бочонок с песком, которого хватит на ликвидацию воспламенения.
Совет! Чтобы защитить колеса от пыли и грязи (так как они будут находиться на кронштейнах), можно использовать большие пакеты или купить специальные чехлы для шин.
Из этого видео вы можете наглядно увидеть, как именно сделать полки для хранения инструментов и других приспособлений для гаража.
https://youtube.com/watch?v=zNCGHvDiC5o
Гараж высокого уровня за разумные деньги. Своими руками
Как пользователи FORUMHOUSE обустраивают свои гаражи
Гаражи некоторых пользователей FORUMHOUSE как будто сошли со страниц модного мужского журнала: в них царят функциональность, удобство, порядок и красота. Это свидетельство высокой гаражной культуры: недопустимо, когда рядом с хорошим домом стоит «загаженный гараж с кривым верстаком и сопливыми полками
Как обустроить гараж высокого уровня, потратив при этом разумную сумму денег и практически все сделав своими руками, мы рассматриваем в этой статье.
- Как обустроить освещение в гараже.
- Какие сделать стеллажи в гараже и где их разместить.
- Как правильно хранить колеса.
- Из чего сделать самому гаражный стол.
- Как сделать выдвижные ящики для инструментов с ложементом.
Как обустроить освещение в гараже
Пользователь нашего портала с ником Sergey05 говорит, что в своем гараже он вполне может какое-то время жить. Там у него светло, уютно, навесные шкафы выкрашены в веселый желтый цвет, а на двери и окна подобраны жалюзи в тон шкафам.
И теперь даже трудно поверить, что когда-то гараж выглядел вот так.
Расширив помещение гаража, Сергей начал его обустройство с монтажа потолка и светильников. В потолок из белых панелей он вмонтировал около 35 светодиодных ламп на 5 ватт. Светодиодные светильники служат дольше других и потребляют гораздо меньше электричества.
Люминесцентные лампы дают хороший яркий свет, но у них большой расход электричества. И они выступают от потолка, а мне не хотелось такого вида.
Перевод всего дома и хозпостроек на светодиодные лампы дал нашему пользователю ощутимую экономию. Теперь он тратит больше электроэнергии (около 600 квтч, а не около 500), но в них входят теплый пол в трех помещениях, двухметровый морозильник, отопление – тепловая завеса в гараже и огромное количество часто используемого электроинструмента.
На FORUMHOUSE вы сможете познакомиться с опытом использования нашими участниками светодиодных ламп.
Лампы в гараже задействованы от четырех выключателей, на все освещение Сергей потратил около 8500 рублей.
Вот какими принципами руководствуются при обустройстве освещения гаража наши пользователи:
- Лампы над машиной не устанавливаются. Свет в гараже нужен по сторонам автомобиля, и над зоной двигателя.
- Белый потолок в гараже (окрашенный или из панелей) увеличивает качество освещенности пола.
- Над верстаком необходим дополнительный светильник: работа с мелкими деталями должна быть комфортной.
- Для гаража не нужна суперосвещенность в 1000 ЛК.
Для 99% гаражных работ 300 люкс более, чем достаточно.
Светильник в створке ворот заметно улучшает качество гаражной жизни.
Он будет освещать место парковки и прилегающий участок подъезда к гаражу. Заезжать будет комфортнее, плюс – освещение багажника сзади.
Вот так организовано освещение в гараже у нашего пользователя Mambo777.
В смотровых ямах для безопасности участники FORUMHOUSE используют низковольтные электроприборы.
Хранение в гараже
Гараж – это не только и даже не столько дом для автомобиля (наши пользователи нередко ставят машину в гараж только уезжая в отпуск), сколько мастерская и место хранения нужных предметов. Организовать все так, чтобы ни один сантиметр пространства не простаивал понапрасну, но чтобы не возникало ощущения тесноты и захламленности – настоящее искусство.
Все приспособления для хранения в гараже должны быть компактными, а все, что в них хранится – легкодоступно. На верхних полках стеллажей и подвесных полках над машиной следует хранить то, что требуется редко: экзотический садовый инвентарь, какие-то материалы, которые не скоро понадобятся и т.д. Для развешивания на стенах монтируют рейлинги, перфорированные панели или оцинкованные сетки, делают крюки или туго натягивают шнуры.
Почти все эти приемы использовал для обустройства своего гаража наш участник с ником Васара.
Самые популярные материалы для отделки стен
Вооружившись перечисленными выше критериями, вы наверняка «отшили» для себя немалое количество вариантов, но беспокоиться о том, что выбор будет узок, не приходится. На самом деле, подходящих по всем параметрам для внутренней отделки гаража материалов хватает. И сейчас в этом убедитесь.
Керамическая плитка (керамогранит)/Клинкер
Мы неслучайно начали именно с нее — по всем параметрам это оптимальный материал, который одинаково хорошо можно использовать для облицовки как напольных, так и настенных поверхностей. С одной оговоркой — лучше всего использовать керамогранит. Это особый вид плитки, который также изготавливается из керамики, но закаливается под более высокой температурой.

В результате грес (так еще часто называют керамогранит) приобретает все необходимые физические свойства и становится незаменимым в местах, где требуется устойчивость к химическим агентам, высоким и низким температурам, а также механическим нагрузкам.

Есть еще одна разновидность плитки — клинкер, изготавливающийся из качественного сырья по технологии экструзии. Закаливание происходит под очень высокой температурой, что позволяет клинкеру стать еще более прочным, чем керамогранит. И, увы, дороже. Чаще всего его используют для отделки фасадов, но нередки случаи, когда клинкер можно увидеть в дизайнах внутренней отделки гаражей и других технических помещений.

Панели ПВХ
Рекомендуем использовать только те панели, что имеют лучшие показатели по классу механической прочности, а также влагостойкие и огнеупорные. Как правило, они дороже, но в эксплуатации прослужат вам куда дольше, чем стандартные варианты.


Конечно, оформлять отделку панелями ПВХ можно лишь в тех случаях, когда вы не превращаете свой гараж в некое подобие СТО — несложные ремонтные работы ничуть не повредят материалу, а легкий вес поливинилхлоридной конструкции и элементарный монтаж позволяют без проблем справиться с облицовкой даже тем, кто не считает свои руки достаточно «прямыми».


Штукатурка
Еще один способ «облагородить» свой гараж, затратив минимум на это средств, времени и, соответственно, сил. Лучше всего использовать цементно-песчаную штукатурку — она идеально покрывает конструкции из газобетона или кирпича и благополучно держится там максимальное количество времени.

Один из главных плюсов выбора именно этого материала — возможность окрашивания. Да, уже после нанесения штукатурки на поверхность можно ее покрасить в любой нужный вам цвет. Или даже несколько — тут уже все от ваших вкусовых предпочтений зависит.
Вагонка
Годы идут, а вагонка по-прежнему в тренде. В гаражах она всегда уместна с визуальной точки зрения, но вот ее высокая гигроскопичность и горючесть ставят под сомнение целесообразность использования в данном техническом помещении.


Тем не менее, некоторые дорогие виды вагонки с хорошим запасом прочности и огнестойкости вполне оправданы для внутренней отделки.



Гипсокартон
Применяется не так часто, как остальные перечисленные выше материалы, из-за того, что легко деформируется и плохо переносит химически активные соединения. Однако в продаже есть варианты с улучшенными характеристиками. Стоят они куда дороже, но если вам симпатичен именно этот материал, то почему бы и нет?

Создание полезных приспособлений для гаража своими руками
Чтобы осуществлять ремонтные и сервисные работы, потребуется соорудить смотровую яму в гараже своими руками, размеры которой будут соответствовать габаритам авто, а также верстак для удобной работы, плюс снабдить помещение станками.
Основной набор инструментов и материалов для создания самодельного верстака для гаража включает:
- доски и деревянные бруски;
- крепежные элементы и стяжки;
- рубанок и другие инструменты для обработки дерева;
- лакирующий и столярный клеевые составы;
- наждачную бумагу и олифу.
Пример размещения в гараже полезных приспособлений: 1 — верстак с ручными станками, 2 — стеллажи и шкафы, 3 — стол для проведения различных ремонтных работ, 4 — полка для хранения шин, 5 — смотровая яма
Технология изготовления верстака в гараже своими руками: фото, чертежи
Верстак состоит из столешницы и подстолья, а также нескольких устройств зажимного типа. Высоту верстака в гараже следует подбирать с учетом собственного роста. Можно взять в качестве ориентира высоту кухонного стола в доме, за которым удобно работать. Обязательно составьте для создания верстака для гаража своими руками чертежи.
Обустройство гаража: как сделать верстак в помещении:
| Этап работы | Детали, размер в см | Тип крепления |
| Сборка столешницы | 20 досок (5х10х200) с пазами 2,5х2,5 в 5-ом и 16-ом элементе (шаг 25) | Клеевой состав металлические стяжки |
| Сушка | — | — |
| Изготовление ножек (4 шт.) | Брусок (10х10х80) с пазами под кронштейны на передних опорах | Кронштейны |
| Сборка основания подстолья | Рамы (2 шт.) из досок (5х10) | Соединение «в шип» на глубину 2,5 см и болты |
| Фиксация боковых и задних опорных стенок | Плиты ДСП (толщина 10 мм) | Шурупы |
| Фиксация столешницы к верхней раме | — | Болты |
Заключительная обработка предполагает пропитку готового изделия олифой и вскрытие лаком.
Рекомендации по созданию смотровой ямы в гараже своими руками
Не существует определенных размеров смотровой ямы в гараже. В качестве основы берутся габариты автомобиля.
Как сделать смотровую яму в гараж с оптимальными параметрами:
- Ширина подбирается с тем расчетом, чтобы внутри было достаточно места для работы. Размер ограничен расстоянием, на которое посажены колеса авто. Каждое колесо нуждается в небольшой площади для выполнения маневров. Средняя ширина ямы составляет 0,8 м.
- Длина ямы ограничивается длиной машины. К этому показателю следует добавить 1 м.
- Для расчета глубины используется рост владельца гаража. К нему прибавляется еще 10-15 см.
Как правильно сделать смотровую яму в гараж с использованием разных материалов:
| Материал | Толщина стенок, см |
| Керамический кирпич | 12-25 |
| Бетон | 15 |
| Строительные блоки | 20 |
Котлован вырывается с учетом оптимальной ширины ямы, материала, выбранного для стенок, а также толщины гидроизоляционного слоя. Этапы создания ямы:
- разметка;
- строительство котлована;
- обустройство котлована;
- строительство стен;
- прокладка освещения.
Для гидроизоляции стен применяется специализированная гидрофобная пропитка.
Схема обустройства смотровой ямы: 1 — стенки из пеноблоков, 2 — гидроизоляция, 3 — бутовая кладка. 4 — уголок размером 50х50х4 мм
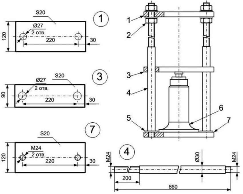
Изготовление пресса для гаража своими руками
Для создания пресса следует изготовить из 4 отрезков металлических труб каркас размером 178х80 см. Эти элементы соединяются методом сварки. В работе рекомендуется руководствоваться чертежами, заранее подобранными или составленными. После этого нужно установить:
- фиксатор;
- съемный упор;
- бутылочный домкрат (гидравлический).
Можно использовать для рассмотрения подробной технологии создания полезных приспособлений для гаража своими руками видео-материалы. Такие наглядные рекомендации помогают сориентироваться в размерах, освоить пошаговые инструкции и представить, какой внешний вид должна иметь готовая конструкция.
Схема изготовления гидравлического пресса: 1 — верхняя силовая платформа, 2 — гайки, 3 — нижняя платформа, 4 — шпильки диаметром 30 мм, 5 — нижняя резьба шпилек, 6 — гидравлический домкрат бутылочного типа; 7 — основание толщиной 20 мм
Обустройство гаража можно сделать собственными руками. На этом список полезных приспособлений не заканчивается. Его всегда можно дополнить любыми интересными идеями. Главное, чтобы гараж полностью соответствовал личным требованиям в отношении комфорта и удобства.
https://youtube.com/watch?v=pGOuQJo85JA
«Умная» организация пространства
Приведение в порядок гаражного пространства начинается с глобальных изменений. Первым делом нужно разделить пространство на отдельные зоны и разбираться с каждой из них отдельно. Освободить место под столики, стеллажи или другие крупногабаритные вещи можно сразу несколькими способами.
- Фанерные панели для вертикального хранения. Если просверлить в обычной фанере несколько разных отверстий, то в них можно будет хранить инструменты: отвертки, плоскогубцы, гаечные ключи и т. д.
- Перфорированная панель. Если хочется, чтобы все было организовано более красиво и аккуратно, то стоит выбрать именно перфорированную панель. За небольшие деньги можно получить уникальную доску с набором крючков и лотков, в которых очень удобно хранить все те мелочи, которые так часто теряются в окружающем хаосе.
- Контейнеры из труб. Более крупные инструменты, например, садовый инвентарь можно хранить в специальным образом обрезанных ПВХ-трубах. Для создания удобного и многофункционального контейнера достаточно просто разрезать трубу на несколько равных кусков и закрепить их на стенке. В одну трубу, в зависимости от диаметра, поместится сразу несколько инструментов.
- Еще один полезный лайфхак, идущий отдельным пунктом, – использование многофункциональных вещей. Столик в гараже может одновременно использоваться и как подставка или стул, а смотровая яма может быть оборудована полками в нишах. Удобны и раскладные конструкции, например, столешница на петлях, которую легко убрать одним движением.
Подготовительные работы
Ремонт гаража необходимо проводить раз в 5- 7 лет, это касается косметических работ. Если восстановление не проводилось очень долго, то может потребоваться капитальный ремонт. Прежде чем приступать к работам следует провести тщательную оценку состояния помещения.
Если несколько лет назад вы уже проводили ремонт и уверены, что состояние помещения удовлетворительное, то будет достаточно косметических работ. Ремонт подобного рода проводят в теплое и сухое время года. Чтобы в будущем ваши труды не прошли даром необходимо проверить все помещения на наличие повреждений и разрушений:
Стены. Площадь стен и перегородок (при наличии) простукивают молотком для обнаружения возможных трещин или пустот. Для это пользуются киянкой или простукивают костяшками пальцев. Вздувшуюся краску или штукатурку удаляют обычным молотком или шпателем. При отсутствии утеплителя или его негодности – заменяют на новый.
Крыша
Особое внимание уделяют конструкции крыши, у скатных крыш проверяют деревянные элементы на наличие грибков и гнилостности. На плоских кровлях проводят оценку состояния гидроизоляционного и финишного покрытия.
Пол
Чаще всего на полу гаража применяют цементную стяжку. Из-за постоянного контакта с водой и низкими температурами покрытие разрушается. При наличии сильных разрушений необходима полная или частичная замена стяжки.
Когда все конструкции гаража проверены, составляют полный план действий и количество необходимых для работы материалов и инструментов. Такой шаг поможет сэкономить время и средства. Первое, за что стоит браться – крыша. Если она находится в плачевном состоянии, то приступать к ремонту остальных частей здания бессмысленно, позже переходят к полу и стенам. Все, кто не знает, как сделать ремонт в гараже, теряются на начальном этапе работ, для этого и составляют подробный план.





