Этапы ремонта
Устанавливаются домкраты под стенами на расстоянии 50 см от углов дома. Необходимо подготовить подложку под домкрат.
Установив домкраты, начинайте подъём дома со всех сторон одновременно. Не поднимайте больше чем на 3 см за один раз, это может повредить здание. После подъема сразу устанавливайте временные опоры.

Нужно удалить непригодное основание, если оно было кирпичным, то пригодные части можно использовать повторно.

Необходимо вырыть углубление для нового фундамента, оно должно быть несколько глубже прошлого. Организовать песчано-щебневую подушку толщиной до полуметра.


Ремонт фундамента под срубом и как его сделать
https://youtube.com/watch?v=F-ssNP7rFKA
Если под срубом «костяк» приказал долго жить, его можно легко восстановить или даже заменить – по желанию. Проводить ремонт фундамента старого деревянного дома можно несколькими способами, основные из которых мы сейчас с вами рассмотрим.
- Полная замена первоосновы. Сделать ее намного проще, чем может показаться на первый взгляд. Вес сруба из сосны 4х4 будет всего лишь 3 тонны (примерно 3300 кг, если брать сухое бревно и стандартный проект с двускатной крышей), то есть вы его сможете поднять и переставить без каких-то сверхъестественных устройств. Вам нужно 2 домкрата, 2 швеллера, по которым вы его будете передвигать. Желательно рядом залить глубокий фундамент, но на 15-20 ниже цоколем, чем старый, чтобы двигать дом можно было немного под углом. Поднимаем конструкцию, подкладываем швеллер (или трубу), понемногу сдвигаем на новый фундамент и закрепляем – ремонт окончен.
- Если нужно выполнять работы под более тяжелым деревянным срубом или нет свободного места для его передвижения, выполняется подъем дома. Пробивается 2 отверстия в старом фундаменте сразу под срубом для квадрата или прочного швеллера. По бокам образовавшейся балки ставится 2 домкрата, поднимается дом на 15-20 сантиметров, ставятся опоры, потом так же с другой стороны. Выставляется опалубка с двух сторон, заливается бетон или полностью разрушается старое основание и заливается новое.
- Частичный ремонт фундамента деревянного дома с последующим армированием. В некоторых случаях он ломается только в одном месте, чаще всего на углу. В таком случае нужно приподнять угол, сделать расшивку арматурой (М10 или М12), облить новым бетоном по уровню. Поставить на место через 3 недели, когда конструкция высохнет и наберет нужную прочность.
Это были наиболее простые методы частичного или полного восстановления бетонного основания под деревянным срубом. Они не эффективны, если первый деревянный брус имеет сомнительное качество (сгнивший или подточенный вредителем), тогда нужно делать связку с верхними бревнами при помощи деревянных реек. Нельзя опускать сруб на не достаточно отвердевший фундамент, поэтому процесс ремонта займет не менее 3 недель.
Сваи для крепления
Для фундамента используются различные сваи. Например, из стали.
Они очень тяжелые и поэтому самому их установить не получится, для этого потребуется кран. Стальные сваи необходимо сразу же обработать, иначе они подвергнутся коррозии. Сваи хорошо использовать в местах, где чаще всего преобладают морозы — там, где грунтовых вод очень много, также, если рельеф достаточно сложный и неровный.
Сваи из дерева.
Это уже весьма непопулярный материал. Потому что сваи из дерева служат не очень долго. Его также нужно обрабатывать, но перед обработкой нужно обжечь сваи с помощью паяльной лампы.
Тогда не будет размножаться плесень. Также можно обернуть сваи рубероидом. Это намного продлит срок годности.
Почему важно вовремя отремонтировать?
Восстановительные работы желательно проводить своевременно, как только появились первые признаки обрушения. Это поможет избежать дальнейших серьезных затрат, снизить расходы.
В некоторых случаях достаточно самостоятельно восстановить поврежденные участки. В запущенной ситуации потребуется привлечение строительной бригады со специальным оборудованием.
Серьезные дефекты приводят к значительным перекосам перегородок, образованию трещин в стенах и перегородках. Особая опасность появляется для здания в несколько этажей или многоквартирного дома. Риск появления повреждений увеличивается при повышенной влажности.
Что делать с разрушающимся кирпичным фундаментом?
Первым делом нужно убрать штукатурку. И сразу будет как на ладони вся ситуация с фундаментом – насколько серьезны его повреждения. Если да, то придется дополнительно прорыть траншею и закрепить с помощью анкеров металлическую сетку. Далее выстраивается опалубка и заливается бетонным раствором. Как только затвердеет бетон – опалубка снимается, а саму траншею нужно засыпать и хорошо утрамбовать.
Если же повреждения оказались незначительными, можно просто заменить отдельные участки и восстановить отмостки
Важно только, чтобы и новая, и старая кладки были в связке

А для того, чтобы более укрепить основание кирпичной бани, нужно использовать железобетонную обойму, прикрепив ее с помощью сквозного анкерования к подпорке
Важно при этом одинаково распределить нагрузку между новой и старой частями основания. И для удобства все основание можно разделить на зоны по два метра, каждую из которых менять поэтапно
Реставрация
Ремонт может быть разным. Или это будет капитальный демонтаж всего старого покрытия фундамента, или потребуется фрагментарная замена повреждённых участков изоляции, в любом случае технологии должны соблюдаться такие же, как и при устройстве нового покрытия.
Там где нужно, мастику разогревают или разжижают растворителем, жидкую резину наносят с помощью специального оборудования и т.д. Владелец дома должен знать, что экономия на материалах, нарушение технологии устройства гидробарьера, в конце концов, может обернуться невосполнимыми материальными и финансовыми потерями.
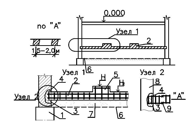
Реконструкция фундамента загородного дома

Усиление фундамента устройством монолитной плиты: 1 – существующий фундамент; 2 – плита усиления; 3 – штраба для заделки армокаркаса плиты; 4 – армокаркас заделки плиты в стену; 5 – ребра жесткости плиты; 6 – уровень разработки грунта для устройства плиты; 7 – щебеночная подготовка под плиту; 8 – несущая стена здания; 9 – электросварка армокаркасов плиты.
Наименее затратным будет ремонт или усиление столбчатого фундамента старого деревянного дома или вспомогательной постройки. В качестве столбов используют деревянные стойки, называемые стульями. Сначала необходимо частично разобрать цоколь и выкопать приямок возле стула, подлежащего замене. Рядом, на расстоянии около 1 м, делается временная опора. Теперь необходимо домкратом (подымающим не менее 10 т) или мощным рычагом вывесить стену так, чтобы нижний венец вышел из шипа старого стула. Одновременно под стену подводят временную опору, более высокую. Остается установить новый стул; лучше, если он будет кирпичным или бетонным.
Ремонт, усиление, замена части кирпичного, каменного фундамента потребует приготовления раствора. Замена ослабленных участков ведется поочередно. При этом используется один из возможных способов усиления или ремонта основы дома.
При увеличении нагрузки на несущие стены фундамент просто расширяют, увеличивая его площадь. Для этого с обеих сторон роют шурфы и частично выдалбливают с боков старый фундамент. Это делается для того, чтобы обеспечить монолитное соединение новой основы дома и старой. На землю насыпается песчаная подушка, и все заливается раствором. Иногда для большей прочности в старый фундамент вставляется арматура в виде прутков большого диаметра (15-20 мм). Они могут укрепляться с каждой стороны или же проходить сквозь основу
В последнем случае надо соблюдать осторожность, иначе слишком большие отверстия могут привести к разрушению

Усиление фундамента за счет монолитной обоймы: 1 – существующий фундамент; 2 – «наращиваемый» армокаркас фундамента; 3 – «коротыши» из арматурной стали для связи армокаркасов; 4 – электросварка рабочих стержней каркаса; 5 – монолитный бетон «рубашки»; 6 – «шпонка» для обнажения арматуры; 7 – «коротыши» и 3 стержня по 12-16 мм; 8 – армокаркас рубашки.
Второй вариант, предусматривающий ремонт или усиление основы, заключается в расширении площади под подошвой. Это более трудоемкая работа, в одиночку с которой не справиться. Придется откапывать фундамент и под ним обустраивать монолитную железобетонную плиту.
Подводка нового основания, его ремонт или усиление, восстановление начинаются с более слабых мест или под стенами с проемами (дверными, оконными). После окончания работ необходимо тщательно уплотнить грунт, чтобы повысить несущую способность всего фундамента. Проще всего это сделать путем утрамбовки слоев щебня 10-15 см. Уплотнять грунт нужно до тех пор, пока камешки не станут разбиваться.
Если стены кажутся недостаточно прочными, то их усиливают посредством металлических балок-обвязок. Сначала в фундаменте пробивают горизонтальную штрабу, куда и заводят двутавр или швеллер. Чтобы их не выворачивало, поперек устанавливают балки, для установки которых в основе дома пробивают сквозные отверстия. Поперечные балки привариваются к горизонтальным. Полученная конструкция заливается цементно-песчаным раствором (1:3).
При разборке старой кладки необходимо оценить дальнейшую пригодность отдельных ее элементов. Простейший способ — оценка твердости. Для этого проведите по поверхности бута или кирпича куском шифера или осколком асбестоцемента. Если не останется ярко выраженной царапины, то материал годится для дальнейшего использования
При отборе кирпича обратите внимание на его ложковые грани: на них должны отсутствовать трещины глубиной больше 3 см
Армирование и установление опалубки для реставрации фундамента
Теперь перед нами стоит уже не очень ровный и не очень красивый цоколь, поскольку кто-то подолбил его долотом! Зато прочный! Теперь нам нужно из этого мусора сделать красивый армированный пояс и все предельно выровнять, чтобы не подгонять сильно ноль под будущую кладку. Лучше сразу все сделать по уровню – намного меньше забот в будущем, а если попадется толковый каменщик, тогда и вообще не нужны буду дополнительные выравнивания. Рассмотрим ремонт кирпичного фундамента подробнее в пошаговой инструкции.
ШАГ 1: забиваем везде арматуру. Пояс должен быть армированным, поэтому берем болгарку и нарезаем прутики из 14-й арматуры по 30-60 сантиметров. Из расчета 2 коротких и 2 длинных прутика на каждые 50 погонных сантиметров по всему периметру. Забиваем: те, что по 30 см – сбоку, которые по 60 см – сверху, углубляем наполовину. Лучше воспользоваться дрелью по бетону или перфоратором для проделывания отверстий и сразу выставить нужную метку на глубиномере инструмента. Если все сделать правильно, у нас получится «ежик»: арматура будет торчать во все стороны, по бокам на 15-20 см, сверху на 25-30 см.
ШАГ 2: вязка арматуры. Используем специальную стальную проволоку для вязки (если понты не нужны – скрепляем все алюминиевой или любой другой проволокой), чтобы было все по СНиП. Проще работать самодельным крючком для вязки, либо крепить вручную (лучше попросить жену, детей или соседа помочь, поскольку на это простое занятие можно потратить даже не 1 и не 2 часа). Берем длинную арматуру, и вяжем ее по периметру к каждому забитому колышку.
ШАГ 3: выставление опалубки. Дело капец какое скучное и неинтересное, но ремонт фундамента старого дома без этого никак не обходится. Если сосед, который помогал с вязкой арматуры, еще не сбежал – вам повезло. Берите подсобника и начинаем выставлять щиты из ОСБ по периметру, который надо восстановить. Крепить проще дюбелями к бетону сбоку, через каждые 25 см. Между листами ОСБ вставляем деревянные бруски, длина которых равна необходимой ширине цоколя – таким образом мы сделаем везде одинаковое значение. Листы можно крепить непосредственно брусками, завинтив в торец по несколько шурупов по дереву или стянуть проволокой между собой.
ШАГ 4: проверяем, измеряем. Прочность опалубки можно определить «на зуб». Грызть, конечно не стоит без крайней необходимости, но хорошенько подергать опалубку, проверить все места креплений брусков между ОСБ листами, стяжки и дюбеля не помешает. Помните, что лучше лишний раз прикрепить, чем оторвется 1 дюбель и вся работа коту под хвост пойдет, ничего уже не сделаете потом. Если вы делали опалубку кирпичом, убедитесь, что цемент схватился уже (поменял цвет).
Нужно сразу отметить, что ремонт фундамента дома своими руками не является легким процессом и здесь нельзя ленится и экономить время на креплении опалубок или установке арматуры. Если залить цоколь криво, то выравнивать его будет крайне тяжело и это лишние расходы. Надо всегда пользоваться уровнем, прикладывать его по вертикали и горизонтали к листам, проверять их установку.
Самостоятельное определение причин

Точное определение причин разрушения оснований и фундаментов и последующее их устранение требует выполнения ряда действий и наблюдательных операций.
Это необходимо для исключения факта того, что деформация была образована ввиду единичного случая, который может больше не повториться.
Например, очень снежная зима с обильным выпадом осадков, чрезмерно увеличивших давление на цоколь здания. В данном случае, ремонт можно выполнить, восстановив декоративный вид. В других потребуется более сложная процедура.
Наблюдение за ростом трещин
Принцип заключается в том, что убедиться в том, увеличивается образовавшаяся трещина или её размер остаётся без изменений. Для этого потребуются специальные маяки, которые изготавливаются из гипсовой штукатурки и наносятся на трещину. Его толщина не должна превышать 2 – 3 см, а длина 10 – 12 см. Середина маячка должна располагаться строго по центру разрыва. Следует учитывать, что для лучшего соединения с поверхностью её рекомендуется зачистить. Расположив маяки в начале и конце каждой трещины и зафиксировав дату и их количество на листе бумаги, остаётся наблюдать за их состоянием.

Увидев на основании трещины, поставьте маяки и наблюдайте за ними
Шурфение

Способ предполагает большую информативность, но он значительно сложнее. Принцип заключается в том, что роется несколько ям (шурфов) впритык к основанию. Средний размер должен достигать глубины основания подушки, а длина примерно 1 м.
Ширина подбирается индивидуально и связана с удобством работы. Для исключения возможности обвала желательно сделать деревянную опалубку.
При ремонте фундамента необходимо устанавливать шурфы в наиболее проблематичных участках. Находясь внутри ямы, можно оценить состояние оснований и фундаментов, качество и целостность гидроизоляции, определить глубину подошвы, уровень залегания грунтовых вод и при желании взять образцы грунта на анализ содержания кислот и щелочей (для этого нужно заранее купить набор для выполнения таких анализов).
Столбчатый фундамент и его восстановление
Схема столбчатого фундамента.
Столбчатые фундаменты часто возводились из красного кирпича, который очень гигроскопичен и со временем разрушается. Часто можно наблюдать, что опоры основания дома со временем ушли в землю, венцы дома чрезмерное увлажнились, а сам он перекосился. Это приводит к появлению трещин, заклиниванием дверей и окон. В зависимости от степени разрушения столбчатого фундамента опоры восстанавливаются или заменяются. Обычно меняют столбчатые бетонные опоры под домом, венец которых расположен над поверхностью грунта.
Чтобы сделать столбик для замены из бетона, изготавливают опалубку с сечением от 20 до 30 см. Она должна быть снабжена опорной перекладиной в верхней части. Глубину ямы надо делать с расчетом углубления 30 см выше глубины промерзания грунта. Яму делают буром так, чтобы опора могла пройти сначала под острым углом, а потом встать на место. После установки столбика, яму засыпают, тщательно трамбуя через каждые 10 см, и простукивают для лучшего оседания почвы. Установить опоры можно с помощью домкрата. Столбик готов в работу через 2 недели после заливки раствора.
Ленточный фундамент и деревянный дом
Ленточный фундамент восстанавливают в зависимости от материала, из которого сделан дом. Если дом деревянный, то его можно поднять на домкратах и полностью восстановить фундамент, который просел. Для этого заливают монолитный пояс, связывая в единое целое старый и новый монолит. Сначала производят подготовительные работы:
Схема ленточного фундамента.
- выносят мебель и вещи;
- разбирают печь;
- убирают полы, оставляя только стены и крышу.
Подъем дома будет осуществляться при помощи домкратов: автомобильных, механических, гидравлических. При столбчатом фундаменте готовят площадки 0,5х0,5 м, на которые и устанавливают домкраты. При линейном обычно выбивают кирпичи цоколя или долбят монолит, чтобы подвести домкрат под дом. Во время поднятия дома усилие домкрата должно передаваться через стальную пластину толщиной не менее 5 мм.
Чтобы дом не развалился из-за перемещений и подъема, каждое бревно закрепляют вертикально прибитыми досками, которые создают дополнительную жесткость. Подъем дома происходит в несколько этапов. На каждом из них дом поднимают всего на 1,5 см. После каждого поднятия положение дополнительно фиксируется подложками из бруса, а дом проверяется на появление повреждений
Процесс поднятия дома на необходимую высоту занимает много времени и требует осторожности во всем. После поднятия дома на необходимую высоту его жестко крепят и начинают делать работы по обновлению фундамента
Замена нижнего венца деревянного дома
Ремонтные работы над восстановлением осевшего фундамента старого деревянного дома требуют и замены нижних венцов. Как правило, осевший фундамент приводит к развитию разрушению дерева из-за сильной влаги. Для этого на фундамент стелют 2 слоя рубероида. Старые венцы убирают и меняют на новые, пропитанные антигрибковыми составами. Потом дом опускают с одной стороны и поднимают с другой, повторяя все действия.
Особенности ремонта линейного фундамента без поднятия дома
Схема укрепления фундамента.
Кирпичный или каменный дом нельзя поднимать, и они требуют осторожного подхода специалиста. Если монолит потрескался в нескольких местах и это не привело к нарушению целостности постройки, а появившиеся трещины не увеличиваются в размерах, то их затирают цементным раствором
Если дом деформируется, то проводят полную или частичную замену фундамента, либо его усиление – все зависит от степени повреждения
Если монолит потрескался в нескольких местах и это не привело к нарушению целостности постройки, а появившиеся трещины не увеличиваются в размерах, то их затирают цементным раствором. Если дом деформируется, то проводят полную или частичную замену фундамента, либо его усиление – все зависит от степени повреждения.
Чтобы исправить поврежденный участок монолитной ленты, сначала прокапывают траншею, длина которой не должна превышать 2 м. Если поврежденный участок больше, то сначала ремонтируют одну часть фундамента, ждут, пока бетон встанет, и только затем продолжают. В старом основании бурят шпуры горизонтально по 60 см вертикально 3-4 ряда. Диаметр сверла меньше на 2-3 мм диаметра используемой арматуры.
Это необходимо для полноценного укрепления прутьев после монтажа. Их забивают для формирования каркаса ленты усиления. После с помощью сварки приваривают горизонтальную арматуру, густым бетоном забивают пустоты, заранее очищенные и отмытые от грязи, ставят штукатурную сетку с большими ячейками. После ставят опалубку и заливают на высоту до 0,5 м и нужную толщину не менее 15 см.
Причины нарушения целостности основания
Все причины, влияющие на разрушение оснований и фундаментов, формально делятся на 2 группы. Первая подразумевает потерю несущих способностей, связанную с ослаблением грунта, являющегося для него опорой. Во втором случае это нарушение целостности самой конструкции. Происходит это из-за некачественного монтажа или под воздействием негативных факторов, губительно влияющих на него.
Причины разрушения оснований
| Факторы | Краткая характеристика |
|---|---|
| Снижение качеств несущей способности грунта | Случается это из-за подмыва или подтопления грунта. Он перенасыщается влагой и теряет свои характерные способности. |
| Образование пустоты в грунте | Основная причина касается подмывания, но процесс происходит в другом порядке. Несущие способности почвы остаются на своём уровне, а под самой конструкцией образуется пустота, в результате которой происходит обрушение цоколя. |
| Наличие в почве негативных веществ, разрушающих конструкцию | Мергели и известняки в почве считаются основными разрушителями бетонного фундамента на молекулярном уровне. |
| «Подработки» | Подземная пустота, которая образуется на участке, расположенном рядом с шахтами, нефтяными скважинами, местами забора грунтовой воды. |
| Воздействие поземных вод | Взаимодействие с водой приводит к процессу окисления металлов, таким образом даже в том случае если показатель несущих способностей останется без изменения, цоколь может разрушиться. Отдельно следует упомянуть о воде со щелочными и кислотными примесями. |
| Неправильная технология монтажа | Перечислять такие причины разрушения можно очень долго. Основной считается неправильное определение глубины заложения, объясняющееся экономией владельца. Ещё одна частая причина происходит при заливке ленточного фундамента своими руками. Вместо качественной бетонной смеси используется силикатный кирпич, шлакобетон и другие материалы, считающимися непригодными для применения в армированном составе основания дома. |
Ремонт ленточного фундамента
Учитывая все особенности того, как сделать ремонт фундамента ленточного типа, можно выполнить все работы самостоятельно. Данный вид основания имеет наибольшую популярность при возведении домов и построек, поэтому следует начинать именно с него. Основной причиной, требующей его реконструкцию, считается наличие трещин на поверхности.
Причинами их возникновения можно назвать следующее:
- монтаж кирпичного цоколя без использования армирующей сетки;
- ржавый металл в качестве армирования;
- отсутствие вентиляции;
- изготовление фундамента без армирования и основного каркаса;
- цоколь, сделанный на насыпном грунте;
- использование бетона смешанного в неправильных пропорциях или из цемента низкого качества;
- отсутствие сливов или их неправильный монтаж.
Незначительная трещина в конструкции требует своевременной реакции владельца и выполнения реставрации. Связано это с попаданием внутрь конструкции влаги и постепенного разрушения основания под её воздействием. Особенно опасно это в зимнее время. О том, как отремонтировать основание дома, стоящего на склоне, смотрите в этом видео:
https://youtube.com/watch?v=aIBoPbKtahA
Возможные варианты ремонта
Ремонт фундамента, связанный с заделыванием трещин, можно выполнить 2 методами: первый способ заключается в том, что применяется замазка. Второй предполагает применение цементного раствора. Предварительно нужно зачистить все образовавшиеся недостатки, затем выполняется инъецирование подготовленной смеси, которая изготавливается путём смешивания цемента с песком в пропорции 1 к 2. Отделанная поверхность затирается правилом с незначительным смачиванием водой. После полного затвердевания можно окрасить её.
Если основание постоянно подтапливает, в первую очередь займитесь монтажом дренажа вокруг здания
Ремонт фундамента дома, который подвергается периодическому подтапливанию, выполняется с монтированием дополнительного дренажа, необходимого для отвода воды от стен здания. Если сделать это проблематично, можно ограничиться изготовлением отбойного барьера, направляющего воду по канаве или качественной отмостки шириной более 80 см.
Если появление трещины связано с монтажом основания выше уровня промерзания почвы, требуется выполнить ремонт ленточного фундамента, связанный с его утеплением. Вдоль всего цоколя выкапывается канавка, которую нужно засыпать влажным песком. Верхняя часть закрывается теплоизоляцией, а затем делается отмостка.
В том случае когда разрушение фундамента значительное, может понадобится капитальная реставрация. В этом случае роется канавка, аналогичная ранее описанному методу, старая поверхность очищается от отслоившейся штукатурки и гидроизоляции и обрабатывается грунтовкой. О том, как заменить фундамент, находящийся во влажном грунте, смотрите в этом видео:
https://youtube.com/watch?v=6YaorPPJ2Ro
На расстоянии 80 100 см друг от друга высверливаются отверстия, в них вставляется арматура. Делается 3 – 5 ряда таких штырей. Вся поверхность, которую нужно отремонтировать, закрывается металлическим каркасом из арматуры. Затем делается опалубка и заливается новый слой фундамента, после чего делается отмостка.





