Популярные модели
Безоговорочно утверждать, какой из индикаторов скрытой электропроводки является лучшим, весьма трудно. На выбор влияет множество факторов, начиная от цели применения, оканчивая производителем и ценой. Обзор нескольких моделей дает представление о том, какие индикаторы скрытой проводки пользуются наибольшим спросом.

Интерскол ЭД-0,2
Интерскол ЭД-0,2 (Рис. 9) — бюджетный вариант индикатора скрытой проводки, предназначенный для поиска обесточенных проводов и металлических крепежных элементов в деревянных конструкциях. Для индикации результата используется световая и звуковая сигнализация. Обнаруживая кабеля на глубине до 20 мм, прибор дает погрешность в 3 мм. Не требует калибровки, управляется при помощи всего одной кнопки.
Цена от 500 до 1000 рублей.*
При выборе индикатора скрытой проводки желательно отдавать предпочтение известным производителям, чья спецификация акцентируется на выпуске данных приборов.

DEFORT DMM-20D
С помощью четырехрежимного мультитестера DEFORT DMM-20D (Рис. 10) можно искать находящийся в стене кабель, который находится под напряжением. Кроме того, прибор служит для выявления деревянных опор, металлических элементов и пустот. Устройство обеспечивает идеальные условия для работ связанных со сверлением отверстий и монтажом навесного оборудования. Результаты поиска выводятся на дисплей и сопровождаются звуковым сигналом. Глубина обнаружения электропроводки — до 50 мм. При простаивании без манипуляций с управлением прибор самостоятельно отключается, что благотворно сказывается на ресурсе элементов питания.
Цена от 800 до 1200 рублей.*

KWB 0116-20
Индикатор KWB 0116-20 (Рис. 11) применяется при поиске спрятанных в стенах подключенных и обесточенных проводов. Прибор различает деревянные перекрытия, дает информацию об арматуре железобетонных стен. Устройство обнаруживает запитанную проводку на расстоянии до 38 мм. Устройство снабжено интеллектуальной системой калибровки, позволяющей получать результаты с большой точностью. Для управления сканером используется всего одна кнопка, что сводит эксплуатацию к максимальной простоте.
Недостаток: Откалиброванное устройство не рекомендуется отдалять от стены, которая подвергается исследованию.
Цена 1600–1800 рублей.*

ADA Wall Scanner 80 А00466
Прибор для определения скрытой проводки ADA Wall Scanner 80 А00466 (Рис.12) обеспечивает поиск находящихся под напряжением проводов, также предназначен для обнаружения деревянных перекрытий, черных и цветных металлов. Профессиональное устройство заключено в ударопрочный корпус, предохраняющий внутренние элементы от механических повреждений. Помимо ЖК-дисплея, на который выводятся результаты сканирования, в детекторе присутствует звуковая и световая сигнализация. Сканер, обнаруживающий проводку на глубине до 50 мм, прост в эксплуатации, содержит минимальное количество элементов управления. Визуализация режимов и результатов поиска производится с помощью доступных пониманию пиктограмм.
Цена девайса колеблется в пределах 2700–3000 рублей.*
Самый лучший детектор для поиска проходящих в стене проводов окажется бесполезным в неумелых руках. Поэтому для эффектного применения прибора необходимо обзавестись минимальными знаниями электротехники или воспользоваться услугами специалиста.
*Цены актуальны на октябрь 2019 г.
https://youtube.com/watch?v=bjgfuwFodS8
Индикатор-пробник IEK
Этот индикатор еще более экономичный по сравнению со всеми предыдущими. Корпус выполнен наподобие отвертки. Имеется переключатель чувствительности и доп. металлический контакт на боковой поверхности. Два светодиода: красный — для проверки наличия напряжения от 70 до 220В контактным способом (при этом не нужно прикасаться пальцем к металлической контактной пластине сбоку) и зеленый — для бесконтактных замеров.
Основной недостаток — очень большая чувствительность на всех режимах работы. Иногда может фонить буквально за метр до проводки. Некоторые «кулибины» сами дорабатывают пробник, путем заклейки скотчем металлической контактной пластины и оборачиванием фольги верхней части прибора.
https://youtube.com/watch?v=zyMfJR3qMlE
Сигнализатор Дятел
Как провести поиск скрытой проводки Дятлом. Все начинается с выбора режима. Их четыре, от которых зависит глубина обнаружения металла. Каждый режим обозначается кнопкой. Нажимаете на выбранную и удерживаете ее в таком положении. Водите прибором по стене. При определении скрытой проводки в квартире он издает сигнал: звуковой и световой.
https://youtube.com/watch?v=PBwPE6azQ_g
Что касается металлической арматуры, которая присутствует во всех бетонных строениях, то именно она часто создает помехи и точно определить, как найти электропроводку в стене бывает непросто. Чтобы она не была помехой, необходимо подключить к проводке бытовой прибор высокой мощности. Таким образом, внутри кабеля в стене начнет перемещаться ток повышенной силы. На него и будет реагировать датчик сканера. Арматура же создаст помехи, но точность определения проводки в стене (ее месторасположения) будет высокой. Используя этот тип детектора скрытой проводки, можно гарантировать высокую точность определения расположения проводов.
Характеристики детекторов
Световая индикация на комбинированных устройствах может отличаться цветом в зависимости от найденного провода под напряжением или обесточенного
Каждый прибор для обнаружения скрытой электропроводки имеет свои плюсы и минусы. К примеру, электростатические способны определять местоположение проводов, которые находятся под напряжением, даже если ток по ним не пропускают. Реагируют также на разрывы в цепи. Минусом устройства является чувствительность к электрическим приборам – роутерам, микроволновкам, компьютеру и даже мобильному телефону. Влажные по какой-либо причине стены также являются помехой для работы устройства.
Электромагнитные индикаторы проводки очень точно, до миллиметра определяют ее расположение в стене, но не улавливают маломощные кабели, которыми оснащены осветительные приборы – светильники или люстры. Использовать дешевые устройства в таком случае нельзя, придется покупать дорогой детектор, например, фирмы Bosch, который является лучшим в своем роде.
Металлодетекторы чаще применяют для уточнения данный от других приборов, например, электромагнитного типа, если сигнал слабый из-за недостаточной электрической нагрузки.
Методы которые не работают
Поиск проводов компасом
Хоть некоторые и рекомендуют данный метод, в реалии вы попросту не сможете создать нагрузкой в домашних условиях такую электромагнитную индукцию, чтобы обыкновенный компас среагировал на это, да еще и точно указал, что это электропроводка, а не обычная арматура. А если еще учесть несколько сантиметров штукатурки под которыми залегает кабель, то что это за чудо компас должен быть и сколько он будет стоить?
Смартфоны
Современные программы рассчитанные на всякого рода айфоны и другие гаджеты, хоть и уверяют, что с легкостью могут найти металлические предметы и реагировать на магнитные поля, следует все же воспринимать как дорогие игрушки, а не приборы способные найти скрытую проводку. И доверять им не стоит ни в коем случае.
Поиск проводки смартфоном — сканер Walabot DIY
Чтобы точно определить где залегает провод под штукатуркой, лучше воспользоваться недорогими приборами (Дятел, детектор MS 158), о которых говорится в статье Прибор для определения скрытой проводки, ну а профессионалы могут воспользоваться качественным инструментом Мультидетектором Hilti PS 38.
Ознакомиться и сравнить текущие цены на детекторы от разных производителей можно здесь.
Ищем место повреждения провода
Методика отыскания повреждения фазного провода
Проводка может быть двух типов исполнения: наружная и скрытая (внутренняя).Поиск места повреждения для наружной проводки достаточно прост:
- В 80% случаев простой визуальный осмотр позволяет обнаружить место повреждения.
- Если это не помогло или выявлено несколько возможных мест повреждения, то после снятия напряжения с провода можно прощупать его. Это практически всегда позволяет точно определить место повреждения. Если же и это не помогло, то используем самый трудоемкий, но в то же время простой способ.
- Если у вас имеется бесконтактный указатель напряжения, то просто ведем им вдоль провода от распредкоробки до розетки или выключателя. Место, где он перестанет светиться, является местом повреждения.
- Если же у вас нет бесконтактного указателя напряжения, то снимаем напряжение с нашего участка провода и делаем небольшой надрез на нем, достаточный для прикосновения к токоведущим частям индикатором.
- Затем подаем напряжение и проверяем его наличие в месте надреза. Так, постепенно сужая зону поиска, вы определите место повреждения.
Поиск повреждения при помощи бесконтактного указателя напряжения
А вот для ответа на вопрос: как найти обрыв в скрытой проводке, — вам не обойтись без бесконтактного индикатора.
Для этого, как и в случае с наружной проводкой, просто ведем им вдоль предполагаемого места прохождения проводов. В месте, где он перестанет светиться, следует выполнить несколько круговых движений, с целью определения, не отклонились ли вы от места прокладки провода. Если не отклонились, то место повреждения именно тут.
Методика отыскания места повреждения нулевого провода
С поиском места обрыва нулевого провода все немного сложнее и многие сайты советуют не искушать судьбу и доверить это дело профессионалам. Ведь как найти электропроводку в стене если ни один прибор на нулевой провод не реагирует? Ответ действительно прост. Значит, его следует сделать фазным, определять повреждения которого мы уже умеем. Но сразу предупреждаю! Делать это следует только если вы действительно помните хотя бы школьный цикл по переменному току. Если это не так, то лучше даже не читайте дальше. Ведь электрический ток не имеет ни запаха, ни цвета, ни звука и предупреждать об опасности он не будет. А последствия контакта с ним могут быть весьма плачевны.Дальнейший ответ на вопрос как в стене найти электропроводку при повреждении нулевого провода мы сведем к пошаговой инструкции:
Отключите все электроприборы в вашем доме
Особенно это касается приборов, для которых важно расположение вилки в розетке, некоторых современных люстр и тому подобное. Это мы делаем исключительно в целях безопасности
Определите место питания поврежденного участка
Лучше чтобы это был автоматический выключатель, а не распределительная коробка. Отключите вводной автомат на ваш дом или квартиру.
Вводной пакетный переключатель
https://youtube.com/watch?v=6FCggE6q—U
Если у вас установлен однополюсный автомат, то отключите фазный провод. На его место вставьте нулевой провод поврежденного присоединения
Очень важно не перепутать и вставить нулевой провод именно данного присоединения. Провод же, который у нас был фазным, изолируем и отводим для исключения его соприкосновения с токоведущими частями
Если же у вас установлен двухполюсный автомат, то вам значительно проще
Отключаем фазный провод и на его место садим нулевой. Перед тем как найти скрытую электропроводку в стене и место ее повреждения, еще раз убеждаемся, что все электроприборы отключены. Особенно это касается приборов, которые питаются с участка, где у нас имеется повреждение. Включаем вводной автомат или пакетный переключатель. Включаем автомат, питающий участок сети с повреждением. Если вы все сделали правильно, то вам совершенно нечего переживать. Ведь вы исключили все вероятности короткого замыкания. Дальнейший поиск повреждения выполняем так, как наша инструкция советует его выполнять для фазного провода. Ведь теперь наш нулевой провод стал фазным и определить его повреждение достаточно просто.
Обзор нескольких моделей детекторов проводки и металла
Начнем обзор с недорогих моделей, которые часто оказываются наиболее практичными для непрофессионалов, желающих сделать ремонт в своем доме.
Детектор напряжения UNI-T UT-12A
Этот недорогой и компактный прибор пользуется хорошей репутацией. Цена до 500-600 руб. Несмотря на свою простоту надежно обнаруживает скрытую проводку под напряжением. Устройство снабжено звуковой сигнализацией, которую можно отключить и ориентироваться по светодиодному индикатору, который будет мигать при обнаружении напряжения. Если индикатор не мигает, а горит постоянно, то это не признак неисправности прибора, а признак того, что пора менять батарейку.
Трассоискатель Mastech MS6812
Тестер для кабелей и детектор проводки MS6812 может находить скрытую проводку под напряжением. В комплект входит генератор, который расширяет возможности сканера. Если вы читали статью с начала, то знаете, что он дает возможность искать проводку даже без напряжения. А кроме того, можно найти место скрытого замыкания. Или вызвонить отдельный проводник в пучке, что иногда бывает нужно и является не самой простой задачей.
Искатель проводки BSIDE FWT11
При помощи разъемов RJ45 и RJ11 можно подключать кабели ЛВС, Ethernet и производить их проверку. Есть также возможность подключаться к кабелям при помощи “крокодилов”. Для шумных условий работы предусмотрено гнездо для головных телефонов (наушников).
Генератор и приемник-щуп питаются от батареек типоразмера 6F22 9 В (“Крона”). Щуп имеет встроенный светодиодный фонарик, который выручает в слабо освещенных местах.
Характеристики:
| Длина кабеля: | 300 м |
| Класс защиты: | IP40 |
| Функции: | трассировка, топология, генератор сигнала |
| Размеры: | 235 х 145 х 51 мм |
| Вес: | 500 г |
Сканер IdeenWelt (Германия)
Этот прибор можно отнести к комбинированным. В него входит катушка и емкостный датчик. Поэтому он может обнаруживать дерево и пластики. При поиске проводки такие функции вовсе не помешают, так как они иногда позволяют получить ответ на дополнительные вопросы. К несомненным достоинствам устройства можно отнести простоту обращения с ним.
В устройстве предусмотрена звуковая и световая индикация обнаруженных предметов.
Некоторые характеристики приводятся в таблице:
| Обнаружение проводки: | до 30 мм |
| Обнаружение металла: | до 50 мм |
| Обнаружение дерева: | до 38 мм |
Детектор металла Einhell TC-MD 50
Устройство комбинированного типа, использует магнитное и электрическое поле для обнаружения предметов. С обратной стороны имеется прокладка для того, чтобы не царапать стены при поиске, также можно использовать мягкое покрытие. Детектор имеет визуальную и звуковую сигнализацию. Если прибор не используется, то он автоматически отключается через 1 минуту.
Характеристики:
| Обнаружение металла (черный): | 50 мм |
| Обнаружение дерева: | 19 мм |
| Обнаружение металла (медь): | 38 мм |
| Обнаружение проводки: | 50 мм |
| Вес сканера: | 150 г |
| Вес в упаковке: | 340 г |
Сканер проводки BOSCH PMD 7
Многофункциональный сканер для обнаружения металлов, дерева и скрытой проводки. Все металлы обнаруживаются до глубины 70 мм, а проводка под напряжением – до 50 мм. Детектор имеет трехцветную индикацию (желтый, зеленый, красный цвета).
Калибровка в приборе автоматическая, обнаружение происходит в реальном времени. Питание производится от элемента 1.5 В. Вес всего 150 г. Производитель (Германия) дает гарантию на полтора года.
Детектор проводки Bosch GMS 120 M
Это прибор профессионального класса. Он позволяет определять проводку (под напряжением) на глубине до 50 мм. Дерево обнаруживается на глубину до 38 мм, черные металлы до 120 мм и медь – до 80 мм.
В приборе предусмотрена автоматическая калибровка. Имеется функция обнаружения центра. Кроме того, кольцо в середине предназначено для указания точного положения цели и нанесения отметки маркером на стену. Переключатель позволяет выбрать один из трех режимов работы: дерево, металл, проводка.
Дисплей сканера имеет подсветку. Для питания устройства используется батарейка 9 В. Имеется функция автоматического отключения при неиспользовании свыше 5 минут.
Сканер кабелей и металлических материалов BOSCH D-Tect 150 Professional
В конце обзора профессиональный прибор радарного типа. Он обнаруживает проводку на глубине 60 мм. Металлы (в том числе и стальная арматура) обнаруживаются на глубине 150 мм, трубы – 80 мм. Прибор весит около 700 г.
Главное достоинство прибора – высокая точность до 1 мм – обнаружения металла. Дисплей очень информативный. Калибровка этому радару не нужна, и он готов к измерениям сразу после включения.
Методы поиска места повреждения кабеля
Разработаны и успешно применяются следующие способы для поиска мест повреждения.

Импульсный способ

Проверка осуществляется в соответствии с предусмотренной инструкцией как найти место повреждения, с использованием измерителя ИКЛ-5 или ИКЛ-4 путем ввода через переменный ток импульса к области неисправности и получении ответного сигнала. Прибор производит замер времени между периодом подачи и возвращением импульса.
Акустический метод
Акустический метод предусматривает использование приемника и электрогенератора мощных ударных импульсов. Конденсатор генератора присоединяют к кабелю, и когда разрядник срабатывает, напряжение в линии создаёт электромагнитную волну, происходит сильнейшее пробивание, сопровождающееся щелчком в области неисправности. Оператор улавливает щелчки при помощи акустического прибора.

Зона распространения звука распложена в границах от двух до пятнадцати метров. Точка неисправности кабеля устанавливается присутствием максимально громкого звука.

Метод петли
Неисправности устанавливается путем сравнения сопротивлений нарушенной и целой кабельной жилы при использовании метода петли. Порядок поиска повреждений в этом случае требует формирование из кабеля моста типа Р 334 или Р 333, так же требуется наличие моста сопротивления МВУ-49.

Применяется в том случае, если одна жила кабеля не повреждена, если все жилы неисправны, рекомендуется использование неповреждённой жилы находящегося рядом кабельного канала.

Исправная и поврежденная жилы соединяются на одной стороне кабеля петлей. На противоположной стороне кабеля устанавливают мост, регулирующий электросопротивление. Производятся замеры, и, используя формулы соотношения сопротивления, устанавливается дистанция до точки расположения неисправности.

Минусом такого способа является неточность установления точки нахождения неисправности и огромные временные затраты.

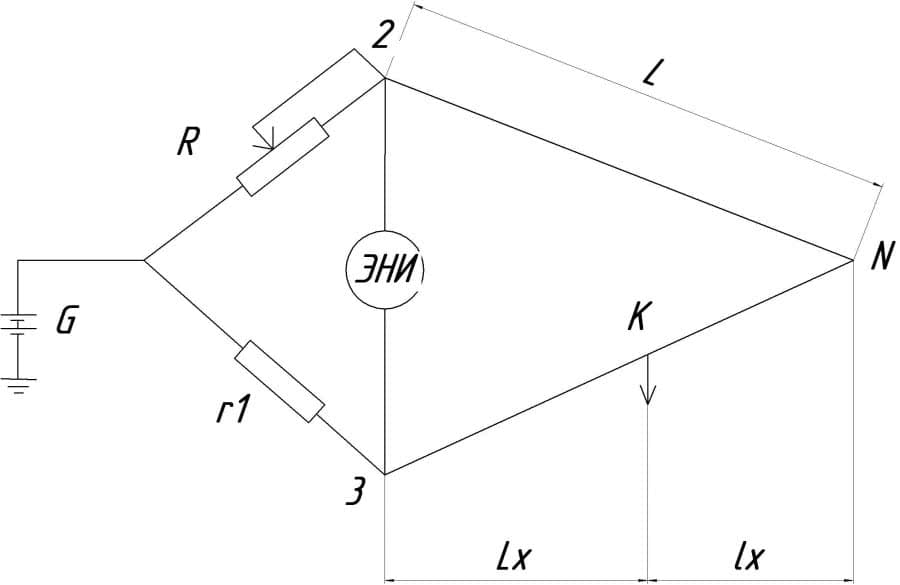
Индукционный метод
Рассмотрим теперь, как определяют участок повреждения кабеля индукционным методом, который является более точным и дает шанс установить отрезок неисправности прямо в КЛ, погрешность этого способа не превышает 50 сантиметров.


Содержание способа состоит в улавливании и фиксации над трассой кабельного канала колебаний электромагнитного поля, образованного за счет пропускании по неисправной жиле электричества с частотой звука от 800 до 1000 Гц. Оператор двигается по ходу трассы кабеля и с использованием антенны, усилителя и наушников определяет характер передачи электромагнитного поля. Звучание заметно увеличивается в точке неисправности и теряет силу на расстоянии 50 сантиметров от точки пробоя.
Метод накладной рамки
Если кабель проложен открытым способом или в открытых шурфах, в случае однофазного замыкания кабельной жилы на оболочку, с целью установления отрезка неисправности, специалисты советуют применение метода накладной рамки.

Рамка представляет собой катушку из 1000 витков проволоки и имеет форму прямоугольника, в этом методе используется в роли антенны, выглядит, как указано на фото с места повреждения кабеля.

При определении места неисправности оператор использует телефон для прослушивания изменений звуков, которые издают жила и оболочка кабеля при подключении к ним генератора звуковой частоты. Прослушивается пара максимума и пара минимума звучания, в случае, если рамка установлена и вращается вокруг оси кабеля перед местом расположения повреждения кабельной линии.

Такой способ эффективен, если длина кабеля не превышает одного километра за местом повреждения.

Во всех случаях отыскания места повреждения кабельной линии необходимо произвести огромный комплекс работ с использованием приборов для поиска повреждения кабеля.

Простейшие схемы
Со звуковой индикацией
Первый рисунок – самый простой прибор. Резистор R1 стоит для защиты микросхемы от наведенного напряжения, хотя если его не ставить, как показывает практика, ничего страшного не случится.
Как антенна используется медный проводник длиной 5-15 см. При обнаружении провода будет слышен характерный треск. Легко найти, какая лампа на елочной гирлянде перегорела: возле нее треск прекратится. Пьезоэлемент включен по мостовой схеме. Это позволяет увеличить громкость.
Звуковая и световая индикация
Схема тоже очень проста, собранная на одной микросхеме. Сделать ее своими руками труда не составит.
Особенности: резистор R1 должен иметь номинал не ниже 50 МОм. Светодиод стоит без ограничительного сопротивления: микросхема сама прекрасно справляется с этой задачей.
Поиск обрыва
Итак, все дома по улице и на районе со светом, в распределительном щитке неполадок также не обнаружилось, а значит, проблема наверняка скрыта где-то внутри стен ваших владений. И после того, как с возможными причинами возникновения неисправностей проводки мы с вами разобрались, самое время перейти к главной теме – поиску обрыва провода в стене. Существует несколько актуальных способов осуществления этой непростой задачи, каждый из которых мы с вами рассмотрим чуть более детально, что наверняка пригодится вам в дальнейшем.
Логика
Да, несмотря на то, что выше мы уже предположили отсутствие пользы от логических умозаключений в некоторых сценариях, она всё же остаётся одним из инструментов определения места аварии, к которому многие прибегают прежде всего. В таком случае стоит детально проанализировать все возможные «намёки», происходившие за последнее время. Постарайтесь вспомнить, не мигал ли свет, или, может быть, проблемы с электричеством были у ваших соседей. Если же недавно проводились ремонтные работы, то вам может удастся быстрее локализировать очаг
Обращайте внимание и на запахи, ведь если произошло замыкание, то вполне вероятно, что вы ощутите характерный запах оплавившейся изоляции. Всё это, конечно, не самые точные источники информации, однако и этого может хватить для своевременного нахождения обрыва
Индикаторная отвёртка
Если же произошло так, что ни один из логических выводов не подходит к вашей ситуации и не позволяет определить место аварии, то из подручных средств (по крайней мере тех, что должны быть у хорошего хозяина) может оказаться полезной индикаторная отвёртка. Конечно, её полезность можно оспаривать, но в некоторых случаях она позволяет хотя бы локализировать область поражения провода. Правда, работает это довольно своеобразно, так как проверяя наличие фазы, вы сможете проверить целостность только фазного провода, но не нулевого. И это не единственный недостаток этого способа, так как даже при условии того, что индикатор на отвёртке загорится, это и вовсе может не означать отсутствия проблемы.
Проще говоря, с помощью индикаторной отвёртки вполне возможно определить приблизительный участок обрыва, но эта информация не претендует на стопроцентную достоверность. Да и отсутствие опыта в области электрики может негативно сказаться на процессе поисков. К слову, индикатор указывает повреждённую зону, но она должна располагаться не далее 30 см от места диагностики. Тем не менее, такая отвёртка наверняка есть у многих хозяев, так как её стоимость значительно ниже, чем у специализированных приборов.
Детекторы проводки
Известные как сигнализаторы или трассоискатели, детекторы проводки являются специализированными инструментами для поиска скрытой или открытой проводки, по которой протекает электрический ток, а также металлических конструкций. Естественно, в категории моделей данных устройств выделяют несколько различных типов, однако вам для поиска точного места обрыва провода будет необходим именно ручной вариант. Ведь наверняка вам для подобных поисковых работ не понадобятся сложные и дорогостоящие модели, требующие подключения к портативному компьютеру. Да, несмотря на то, что хороший ручной искатель проводки обойдётся вам в пару-тройку раз дороже встречающихся среди электриков сигнализаторов (являющихся более дешёвыми представителями детекторов проводки), они всё же значительно упростят поиски.
При всём этом данные устройства одновременно решают две задачи, среди которых не только локализация обрыва, но и поиск самой трассы, что крайне практично, особенно, если прокладка проводки в вашем доме или квартире проводилась вопреки принятым стандартам. То есть, если провода проходят не вертикально и горизонтально, то никакие отвёртки и тестеры вам не помогут. Именно поэтому данные устройства считается одними из самых надёжных в данной ситуации, пускай их диапазон цен представляется довольно широким.
Индикаторная отвертка в помощь
Простейший детектором скрытой проводки – китайская индикаторная отвёртка. Для обнаружения провода, закрытого слоем штукатурки, отвёртку берут за шлиц, прижимают к стене боковину рукоятки и ведут вдоль поверхности.
Оказавшись над проводом, отвёртка срабатывает, и индикатор начинает светиться. Для бытовых целей (проверить наличие фазы или нуля в розетке) такого устройства хватит. Цена невысока (начинается с 60-70 руб), поэтому приобретение прибора для владельца жилья необременительно.
Индикаторные отвёртки бывают на батарейках и без. Устройства могут применяться также, для:
- определения полярности (аккумулятора или батареи);
- проверки целостности электрической цепи (прозвонки);
- определения места нарушения кабеля.
Как правильно выбрать
Выбирая устройство для поиска скрытой проводки, необходимо понимать, зачем оно вам нужно. Если требуется только найти проводку, можно обойтись недорогими моделями, которые сравнительно неплохо справятся с поставленной задачей. Для поиска трубопроводов либо каркасов нужно более чувствительное оборудование, способное работать в нескольких режимах, или два разных прибора, что обойдется дороже.
Другим важным параметром является глубина, на которую прибор способен просканировать стену. Не стоит приобретать самые дешевые индикаторы: обычно они способны «прощупать» стену не более чем на 20 мм, а штукатурка имеет толщину 40 мм, то есть пользы от такого устройства не будет. Не стоит экономить на глубине сканирования: чем глубже прибор способен распознавать предметы, тем лучше.
Важную роль играет и тип оповещения. Бывает их три:
- звуки;
- световой сигнал;
- отображение информации на экране.
Звуки отличаются тональностью и бывают разной длительности. По ним можно понять, какой предмет найден.
Зачастую прибор оснащается светодиодами, сигнализирующими об обнаружении коммуникаций или скрытой проводки. На дорогом устройстве, зная схему цветов, можно точно определить местоположение предмета и понять, что именно было обнаружено.
Жидкокристаллический экран – наиболее точный и удобный способ идентификации находок. Прибор отображает всю информацию на дисплее. Однако стоит такое приспособление значительно дороже аналогичных моделей без крана. С расшифровкой сигналов не возникнет никаких проблем. Обнаружение металла или кабеля может вдобавок сопровождаться звуками.
Краткий обзор бюджетных моделей
Наиболее популярные бюджетные модели поискового оборудования:
Bosch Truvo.
Пользоваться прибором очень просто. Индикаторная лампочка меняет цвет, если прибор приближается к металлу. Если свет зелёный – опасности для сверления нет, если красный – то в этом месте находятся электропровода. Когда красный свет горит постоянно, не моргая, то это обычный металл, а если красная лампочка мигает, то проводка находится под напряжением. Прибор обнаружит скрытую проводку на глубине до 5 см, цветной металл до 6 см, чёрный металл – до 7 см.
Детектор Bosch Truvo Источник umkv.co.ua
Зубр профессионал.
Прибор найдёт не только металл, но и дерево. Прибор обнаружит скрытую проводку на глубине до 5 см, цветной металл до 6 см, чёрный металл – до 10 см, дерево – до 2 см. Тип материала отображается на дисплее разными цветами. Указывает глубину залегания электропроводки.
Wall Condtrol.
Может определять не только металл, но и пластик. Имеет очень прочный корпус, который защищает от пыли, воды. Обладает хорошей точностью сканирования и точку подсвечивает лучом. Глубина обнаружения кабеля до 5 см, чермета – до 5 см, меди – до 4 см, дерева – до 2 см.
Mastech MS6906.
Применяется для поиска металла, напряжения, скрытых конструкций. Искатель скрытой проводки обнаружит линии связи до 7,5 см, чёрного металла – до 6 см, цветного металла – до 3 см.
Прокладывание открытых электросетей как оригинальный декор и избавление от старопроводных проблем
Ремонт скрытой поврежденной электропроводки зачастую сопровождается строительно-восстановительными работами, требующими немалых усилий: снятия отделочных материалов, штробление стен, их дальнейшее заделывание, штукатурка поверхности стены, покрытие ее декоративными материалами. Это разумно, когда ремонтные работы по восстановлению проводки совмещаются с капитальным ремонтом.
Но если капитальный ремонт помещению не предстоит, то более рационально в некоторых ситуациях будет прокладывание новой электропроводки на поверхности стены.
При прокладывании нового электропровода можно предусмотреть отведение специальных линий на разные комнаты или устройства. Также в распределительном щите можно установить отдельные автоматы на мощные электроприборы: холодильник, стиральную машину, бойлер, микроволновку, кондиционер и т.д.
Удобным будет и выделение розеточных, осветительных групп покомнатно.
4 шага для сборки высокочувствительного устройства своими руками
Для сборки простейшего устройства искателя проводов нужно:
- Подготовить материалы: стержень из металла, провод для наматывания на трансформатор (сопротивлением 500 ОМ), кабель от микрофона с разъемом, радио, в которое можно вставить микрофон.
- Намотать провод на стержень из металла.
- Концы проводов припаять к кабелю, сделать изоляцию.
- Вставить разъем от кабеля в радио.
После того, как детектор готов, нужно будет включить радио на самую высокую громкость и провести катушку по стене. Изменяющийся звук будет говорить о наличии проводов.
1-ая схема для сборки детектора
Посмотрите на картинку, которая отображает сборку искателя проводки с применением полевого транзистора.

Рис. 1 Сборка на базе полевого транзистора
Устройство работает по принципу нахождения электрического поля. Для сборки простого искателя проводки с применением полевого транзистора необходимы:
- Паяльник, канифоль, припой.
- Нож, кусачки, пинцет.
- Полевой транзистор (КП 303, КП 103, Кт 315).
- Динамик, имеющий сопротивление от 1600 до 2200 ОМ.
- Батарейка (15-9 В).
- Выключатель.
- Провода.
- Емкость из пластика для монтирования деталей.
Динамик будет издавать шум, который будет увеличиваться при подведении к электропроводам.
2-я схема: с регулируемой чувствительностью
Посмотрите на картинку, отображающую вариант сборки обнаружителя проводки, у которого возможно регулировать чувствительность.

Рис. 2 Схема устройства с возможностью регулирования чувствительности
Пояснение обозначений схемы:
- Т-КП 103;
- HL – АЛ107БЛ;
- R1 – 2.0 кОм;
- R2 – 2.0 кОм;
- R3 – 1.0 Мом;
- С1 – 5.0 мкФ;
- С2 – 20.0 мкФ;
- SP – динамик, сопротивление которого от 30 до 60 Ом;
- L – 20-50 витков провода диаметром 0,3 – 0,5 мм.
3-я схема искателя обрыва
Посмотрите на картинку, которая поможет в сборке искателя обрыва проводки.

Рис. 3 Схема искателя обрыва
Данный прибор позволит обнаружить не только провод, но и зафиксировать его обрыв
Обратите внимание на некоторые его характеристики:
- прибор компактный;
- размер антенны – 5-10 см;
- датчик VT1 очень чувствительный. При нахождении его затвора вблизи с проводкой загорится светодиод.
4 –я схема: с использованием Ардуино
Посмотрите на картинку, отображающую сборку искателя с использованием двух транзисторов.

Рис. 4 Сборка искателя скрытой проводки с двумя транзисторами
Для сборки прибора необходимо: контроллер (плата) Ардуино, резистор 3,3 Мом, светодиод, провод.
Далее нужно выполнить ряд действий:
- Подключить светодиод между землей и 11 PWM выводом контроллера.
- Повесить резистор между землей и пятым аналоговым входом.
- К этому же контакту подсоединить провод.
- Подсоединить Ардуино к ПК.
- Залить скетч:
- Открыть программу.
- Скопировать и вставить скетч.
- Нажать кнопку залить.
Затем будет происходить компиляция (преобразование программного кода в бинарный, который будет выполнять контроллер). Затем, при отсутствии ошибок, скетч будет залит. При поднесении устройства к розетке светодиод будет загораться.
Ниже приведен наглядный пример заливки:
Рис. 5 Пример заливки скетча.
5-я схема: на базе микросхемы К561ЛА7
Посмотрите на картинку, изображающую схему сборки искателя проводки с использованием микросхемы К561ЛА.

Рис. 6 Схема искателя проводки на микросхеме К561Ла7
Данная картинка позволит собрать искатель с использованием микросхемы К561Ла7. Для сборки понадобятся: микросхема, светодиод (АЛ 307, АЛ 336), батарейка 3-15 В.





