ВРЕМЕННО В РЕМОНТ НЕ ПРИНИМАЕМ
Измельчитель садовый – СПб – ремонт в Санкт-Петербурге от
У нас имеется склад необходимых запчастей и инструментов площадью 90м2.

Для просмотра этого видео включите Javascript или перейдите на браузер который поддерживает HTML5 video
Оформите заказ на ремонт садового измельчителя онлайн и получите скидку 10%
Вы можете переносить в место для хранения мусора твердые, тяжелые ветки и стебли. Либо же устраивать грандиозный костер, который ещё надо постараться разжечь. А можете превратить все это в легко перетаскиваемую пыль или опилки.
Весь секрет – в том, что у Вас есть измельчитель садовый. Или чиппер. Или шредер.
Но самое главное – Вы получившиеся остатки можете не выбрасывать, а использовать в качестве идеального и абсолютно натурального удобрения.
То есть, мульчу Вы можете получить не за несколько часов изнурительного труда, а за считанные минуты. И чтобы Ваш сад всегда оставался чистым, Ваш измельчитель садовый всегда должен оставаться работающим.

«Ленремонт» поможет Вам всегда иметь в наличии функционирующую технику!
Мы работаем как с любительскими моделями для домашнего использования, так и с профессиональными измельчителями.
То есть, у нас есть мастера, которые разбираются как в электрических двигателях, так и в бензиновых садовых измельчителях.
Впрочем, перед тем, как нести его нам, Вы можете сами попробовать некоторые простые действия при следующих неполадках:
- Двигатель не работает – проверьте напряжение в электрической сети, состояние кабеля питания. Ещё Вы можете нажать кнопку защиты от перегрузок – и измельчитель заработает. Также проверьте, правильно ли затянута зажимная рукоятка и установлена подающая воронка.
- Не измельчает механизм при работающем двигателе – это случается из-за загрязнившегося режущего механизма. Просто почистите его. Но если режущие ножи затупились – несите его нам, чтобы мы могли их заточить либо заменить.
- Отключается измельчитель – запустите его через минуту. Проверьте также состояние кабеля питания или вилки.

Ещё одна настоятельная рекомендация – раз в сезон проводите плановое техобслуживание чиппера или шредера. Об этом даже написано в инструкции.
А если Вам измельчитель садовый (СПб) понадобилось все же починить, то Вы всегда можете обратиться в «Ленремонт», где наши мастера-профессионалы в области садовой техники быстро и качественно устранят любую неполадку. После проведения диагностики и определения стоимости запчастей, клиент оплачивает стоимость запчастей до начала ремонта.
Так что если Ваши измельчители веток садовые не измельчают – звоните в «Ленремонт» по телефону. Мы разберемся!
https://youtube.com/watch?v=sZMREEJqWN0
https://youtube.com/watch?v=W5xL8-pCZ40
https://youtube.com/watch?v=QSP9nJH9DNg
Для чего нужен веткоизмельчитель?
Измельчитель веток также называют рубильной машиной.
Его используют при обслуживании озелененных благоустроенных территорий, лесных массивов и парков, садов и зеленых насаждений.
В любых озелененных зонах появляются больные деревья и кустарники, которые требуют удаления.
Также многочисленные отходы накапливаются в процессе ухода за растениями, например, когда выполняют подрезку ветвей.
В итоге весь этот мусор занимает много места, и для его вывоза необходимо перемолоть все ветки и листья, превратив их в щепу или мульчу – компостное сырье.
Именно для этих целей и используют веткоизмельчители, которые, также применяют для утилизации выброшенных после новогодних праздников сосен и елок.
К этому виду машин относятся всевозможные измельчители пней и корней, которые зачастую представляют собой не самостоятельное, а навесное оборудование.
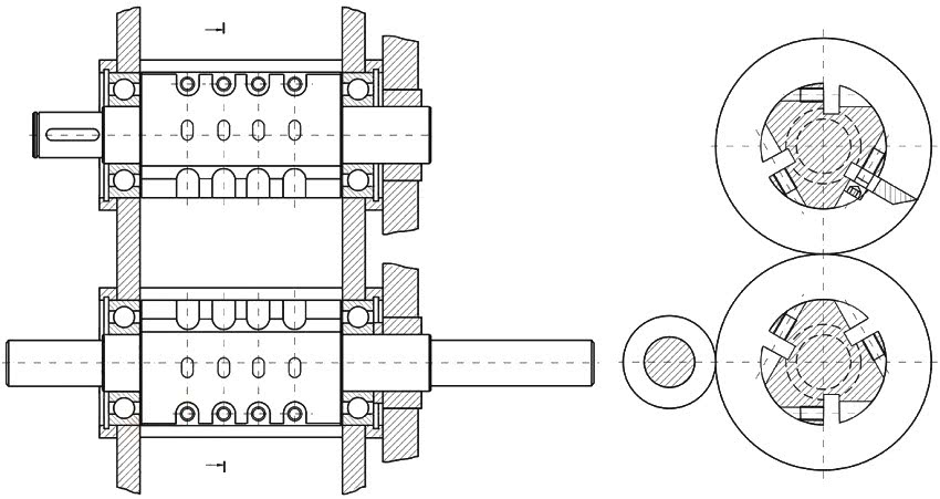
Создание измельчителя с наборным пакетом дисковых пил
Измельчительный механизм таких шредеров состоит из дисковых пил, которые поочередно с разделительными шайбами насаживаются на вал. На каждом диске имеется множество зубьев, которые способны справиться даже с твердой древесиной. Поэтому мягкую траву, ботву и листья он переработает в считаные минуты. Когда зубья пил затупятся, их можно легко заменить новыми.

Чертеж измельчителя с наборным пакетом дисковых пил
Вал для измельчителя можно выточить на токарном станке или использовать готовый от коробки передач старого автомобиля. Расстояние между соседними пилами должно быть около 10 мм. Если промежуток будет меньшим, это снизит рабочую область измельчителя. Если выполнить больший зазор, это будет способствовать застреванию мелких веток.
Лучше воспользоваться электродвигателем, который при работе практически бесшумный и не выделяет в атмосферу вредные вещества. Для дробления грубого материала можно использовать мотоблок, который обладает большой мощностью. Двигатель следует размещать на движимой опоре, чтобы была возможность регулировать натяжение привода.
Раму под шредер можно сварить с помощью швеллеров, уголков или профилированных труб из металла. К основанию конструкции можно приварить упорный брус из металлопрофиля, который станет опорой для стеблей и веток при дроблении
При создании постаментов для подшипников важно не сделать перекос. Оси двигателя и вала должны быть в параллельных плоскостях

Пакет из 15 наборных пил на шпильке М20
Особое внимание заслуживает конструкция бункера. Его можно выполнить из листового металла
Емкость должна получиться достаточно прочной, чтобы выдерживать воздействие разлетающихся щепок от ветвей. С помощью движимой опорной пластины в теле бункера можно создать возможность регулирования размеров щепы. Так, для удобрения подходит более мелкие фрагменты, а для растопки пригодна более крупная щепа.
Размер приемного раструба должен быть больше длины рук, чтобы защитить их от повреждения. Эта также способствует возможности направлять ветки в измельчитель под удобным углом.
Такой садовый измельчитель веток и травы своими руками способен справиться как с мягкими отходами, так и с твердой толстой древесиной. Однако главной его проблемой является засорение пространства между пилами, которое нуждается в регулярной чистке.
Измельчитель веток своими руками (садовый, самодельный)
Каждому владельцу огорода или дачного участка время от времени приходится избавляться от листьев и травы, в особенности, когда речь заходит об уборке сада. Многие используют собранный материал для приготовления органических удобрений или мульчи, нередко ветки, точнее, полученные из них опилки и щепы,применяются и для отопления.
В этом случае, обойтись без такого универсального и практичного приспособления, как измельчитесь травы и веток, достаточно сложно.
Особенности и преимущества
Садовый электрический измельчитель – это универсальное устройство, с помощью которого вы в рекордно короткие сроки сможете переработать собранный на участке неликвид. Измельченный материал может использоваться для приготовления компоста, зеленого удобрения, мульчирования почвы вокруг кустов и плодовых деревьев.
Благодаря простому и малогабаритному устройству ответ на вопрос «как измельчить траву в порошок» перестанет вас волновать – вы с большой производительностью сможете самостоятельно формировать витаминные чайные смеси и заготавливать приправы на зиму.
Профессиональный измельчитель веток
Устройство измельчителя
Классический измельчитель для травы по принципу действия несколько напоминает мясорубку или блендер. В его комплектацию входят следящие основные элементы:
- приемный бункер;
- ножевая группа;
- двигатель.
Некоторые модели оснащаются транспортерами для подачи сырья и удаления переработанной массы из бункера, любительские в основном отличаются ручной загрузкой/выгрузкой, а также существенно меньшей мощностью.
Ножевая группа может быть дисковой (такие изделия прекрасно справляются с процессами перемалывания травы, сена, небольших веток) или фрезерной (промышленные измельчители для веток диаметром порядка 20-25 см).
Принцип работы дробилки
В целом измельчители травы могут быть классифицированы следующим образом:
- любительские – малогабаритные изделия с дисковыми режущими механизмами и мощностью до 2,5 кВт;
- полупрофессиональные – укомплектованные двигателем модели мощностью порядка 4 кВт;
- профессиональные – габаритные и обладающие большим весом установки мощностью от 14 кВт, оснащенные транспортерами, втягивающими воронками и фрезерными ножевыми группами.
Самодельный измельчитель веток
Несмотря на то, что измельчитель Зубр садовый считается одним из наиболее полезных в хозяйстве агрегатов, стоимость его достаточно высока, и не каждый дачник и даже фермер с легкостью решится на его покупку. Альтернатива есть всегда – вы можете смастерить измельчитель веток своим руками. Безусловно, самоделка может быть менее производительной, однако и стоимость ее существенно ниже, чем у заводского изделия.
Садовый измельчитель своими руками из болгарки
Самодельный измельчитель с точки зрения конструкции мало чем отличается от того, которые нам предлагает современный рынок сельскохозяйственной техники. Функцию бункера может выполнять любая старая металлическая емкость большого объема – ведро, кастрюля или бочка. В днище емкости следует заранее просверлить функциональное отверстие для прибора, приводящего в движение ножевую группу.
Мы используем наиболее простой способ и сделаем двигатель из болгарки своими руками.
Садовый измельчитель из болгарки
Что касается режущего механизма, его можно изготовить самостоятельно или приобрести готовый – мы рекомендуем именно этот вариант. Однако если вы планируете сделать ножевой блок своими руками, лучшим решением будет использовать металлическую пластину с заточенной кромкой.
Следует отметить, что все самодельные садовые приспособления должны отличаться надежностью и устойчивостью, в особенности, если их конструкция предполагает использование ножей.
Предлагаем следующий вариант конструкции:
- непосредственно веткоизмельчитель в сборе – бункер с присоединенными и надежно закрепленными болгаркой и ножевым механизмом;
- металлический каркас, изготовленный из трубы и обладающий достаточно большим весом, в который будет помещаться сделанный нами прибор;
- защитная крышка для бункера.
Как сделать дисковую дробилку?
Если вам пришелся по душе данный вид измельчителя, то надо понимать, что для его сборки потребуются хорошие навыки сварочных работ. Кроме того, нужно подготовить следующие материалы:
- стальной лист толщиной от 10 до 16 мм;
- то же, толщиной 5 мм – на кожух и загрузочный бункер;
- высокоуглеродистая сталь для ножей, подойдет автомобильная рессора;
- трубы круглые или профильные, чтобы сварить раму;
- стальной вал диаметром 20 мм;
- 2 подшипника качения №307 или другие;
- крепеж (болты с гайками)
- шкивы, ремень.
Из толстого металла вырезается правильный круг диаметром 400 мм, по его центру делается отверстие для вала. Шкивы и вал надо выточить на токарном станке, при этом на концах вала следует нарезать резьбу для крепления маховика и шкива. Ножи можно сделать в домашних условиях, следуя чертежу, в крайнем случае поручить это дело фрезеровщику. Далее, из стального листа необходимо сварить защитный кожух с бункером, из него же изготовить обоймы для подшипников с отверстиями.
По сути, самодельный измельчитель веток представляет собой режущий механизм, закрепленный на раме произвольной конструкции. Двигатель привода можно разместить в удобном месте в зависимости от длины ремня. Не забудьте крепление двигателя сделать скользящим, чтобы ремень можно было натянуть. Вал механизма также устанавливается на раму, к нему прикрепляется шкив и маховик.
Из толстого металла вырезается правильный круг диаметром 400 мм, по его центру делается отверстие для вала. Шкивы и вал надо выточить на токарном станке, при этом на концах вала следует нарезать резьбу для крепления маховика и шкива. Ножи можно сделать в домашних условиях, следуя чертежу, в крайнем случае поручить это дело фрезеровщику. Далее, из стального листа необходимо сварить защитный кожух с бункером, из него же изготовить обоймы для подшипников с отверстиями.
Зернодробилка состоит из таких узлов:
- Задвижка для регулирования подачи зерна в рабочую камеру.
- Бункер для зерна.
- Кнопка включения-выключения электродвигателя.
- Электродвигатель.
- Втулка.
- Ось.
- Шайба.
- Гайка.
- Винт.
- Основание.
- Корпус рабочей камеры.
- Ёмкость для измельчённого зерна.
- Болт.
- Гайка.
- Металлическая сетка (решето).
- Основание.
- Корпус рабочей камеры.
- Винт.
- Решето.
Материалом для изготовления мотоблочного измельчителя будет служить швеллер 250. Дополнительно потребуется шкив сечением 87 миллиметров, и ножи длиной 100 миллиметров от электрорубанка. Необходимо соорудить приемный бункер, в который и будут загружаться разнообразные ветки. Бункер оснащается неподвижным острым дисковым ножом, который и будет измельчать ветки.
https://youtube.com/watch?v=brYmBxWbLVg
Главное, правильно выбрать угол наклона при установке ножа. Тогда ветки будут измельчаться буквально в мгновение.
Можно сделать садовый измельчитель с электродвигателем, тогда и возни с измельчением будет меньше, но должно быть место для подключения, что проблематично в разных местах участка. В принципе, он нисколько не отличается от вышеописанного. Для такого измельчителя потребуется диск диаметром 20 миллиметров с тремя овальными отверстиями для последующего крепления ножек.
Следует продумать установку пары подшипников, верхний будет опорным, а нижний – обычным.
В принципе, такой садовый измельчитель имеет небольшой недостаток – он довольно шумно работает, это все исправляется проверкой балансировки диска. Так же можно, слегка наклонить рукав, подающий ветки, будет рубить по лучше.
Садовый измельчитель из стиральной машины
Старая стиральная машина советского производства с металлическим корпусом – это техника, содержащая в себе практически все необходимые детали для сборки садового шредера. Потребуются только ножи с крепежом, а также провод на удлинитель.
Из инструментов понадобятся:
- угловая шлифовальная машина;
- плоскогубцы;
- гаечные ключи;
- отвертка;
- электродрель;
- молоток;
- рулетка с маркером.
Двигатель стиральной машины имеет небольшую мощность (у разных моделей разную), указываемую в инструкции к бытовой технике либо на табличке электромотора. Из-за того, что обычно ее значение не превышает 500 ватт, с помощью создаваемого агрегата можно будет перемалывать только солому или траву.

Шредер из стиральной машины изготавливают так.
- Обрезают корпус машинки по высоте, чтобы было удобно работать с агрегатом.
- Сбоку внизу вырезают в нем прямоугольное отверстие болгаркой шириной 20 см, а высотой – 7 см, предназначенное для выброса перемолотых растений.
- Вокруг прорези делают из жести подобие кожуха, который будет направлять травяную массу в емкость для сбора, предотвращая при этом ее разлетание по сторонам.
- Делают ножки.
- Прикрепляют корпус к подставке.
- На валу электродвигателя сверлят 2 отверстия диаметром по 7 мм. Затем на него насаживают втулку с резьбой, а также отверстиями на конце длиной более 5 см, фиксируя ее болтами.
- Под дном короба крепят электромотор с помощью шпилек с гайками.
- Внутри кожуха закрепляют на втулке ножи, располагая их выше отверстия для выброса травы или на одном уровне с ним.
- Короб прикрепляют сваркой либо болтами к подставке.
В результате получится техника, подобная показанной на фото ниже.

Пусковая кнопка подойдет от переделанной стиральной машинки. Нужно только позаботиться о том, чтобы подсоединить достаточной длины удлинитель.
Устройство и работа траворезки из стиральной машинки современного образца показаны в видео
https://youtube.com/watch?v=jDDYpVx6SIc
https://youtube.com/watch?v=vX_tu3kjq-4
https://youtube.com/watch?v=nq426asTVqs
https://youtube.com/watch?v=FWCjwuGb3P8
Этапы сборки конструкции
Самодельный садовый измельчитель отходов мало чем отличается от промышленных аналогов этих устройств. Стационарный измельчитель можно сделать на базе циркуляционной пилы. Для этого в агрегате достаточно заменить диски на режущий вал или фрезу, а также присоединить приемный короб-бункер. Либо использовать эти пилы в качестве измельчительного устройства, разместив одновременно на вале сразу несколько штук.
Создавая садовый измельчитель своими руками «с нуля» необходимо прежде всего приобрести мотор. Электродвигатель является оптимальным вариантом для быстрого измельчения сырья в относительно небольших объемах. Электромотор бесшумен в эксплуатации и при этом не выделяет выхлопные газы. Такие характеристики электромотора позволяют использовать его не только на придомовой территории, но и в закрытых помещениях. Единственный недостаток устройства – необходимость подключения к системе электроснабжения.
Для работы с грубым материалом в достаточно больших объемах наиболее предпочтительно использовать мотоблок, мощность которого значительно выше мощности традиционного электродвигателя
Для сборки качественного ножа требуется в среднем от 10 до 20 пил толщиной в 6-10 см.
Свежие записи
Сиреневые многолетники, которые красивы, компактны и не вытесняют другие растенияПочему при покупке саженцев не стоит верить продавцам на слово и как по 3 признакам самим определить возраст растенияРассада помидоров стала фиолетовой или белесой: почему изменился цвет и как спасти растения
Режущие пилы набираются на шпильку – ось, диаметр которой равен диаметру посадочных дисков. Для сборки режущего устройства потребуются также гайки и шайбы того же размера. Заранее надо подготовить тонкие шайбы, которые можно вырезать из пластика. Эти шайбы потребуются для разведения дисков на равноудаленное расстояние друг от друга с тем, чтоб при вращении их слегка выступающие зубья не цеплялись между собой. Количество шайб должно быть на 1 элемент меньше, чем количество дисков.
На нанизанную дисками шпильку устанавливается шкив, который можно взять от помпы или от генератора ВАЗ. Для вращения оси потребуются два подшипника с внутренним d=20мм
Раму для крепления штанги мотоблока можно сварить из профилированных металлических труб. К сваренной конструкции крепится диск таким способом, чтоб он мог свободно перемещаться относительно дисковых пил. Такое расположение позволит в случае необходимости регулировать натяжение ремня привода.
Для упирания веток во время переработки к конструкции можно прикрепить упорный брусок из профиля
Кожух на конструкцию можно вырезать из оцинкованной стали, но более предпочтительно изготовить его из листового металла. Материалом изготовления приемного бункера может выступать обычная оцинкованная сталь.
Кожух надевается непосредственно на режущий блок. Сверху конструкции крепится бункер для загрузки сырья
Садовый измельчитель травы
От того, какой объем травы необходимо будет обработать (утилизация садового мусора, на компост, для кормов домашней скотине), зависит и создаваемый самодельный измельчитель травы. В основном он мало чем отличается от мясорубки, только для травы и сена соломы, во всяком случае, принцип работы такой же.
Типы измельчителей травы:
- различные по мощности, смотря какое количество травы необходимо обработать. С большой мощностью могут осилить и небольшие сучки;
- различный тип ножей – дисковые ножи (лезвия, измельчающие садовый мусор при вращении), фрезерные ножи (шестерни, которые при вращении затягивают материал и автоматически перемалывают его);
- различный тип работы – на бензине (обслуживание дороже) или электричестве (аппарат привязан к имеющейся розетке);
- стационарный тип или передвижной (тип газонокосилки).
Из стиральной машины
Сама по себе она является отличным объемным контейнером для сена, травы, соломы и пр. Принцип данного измельчителя как у кухонного комбайна.
Необходимо:
- несколько ножей, размещенные в контейнере цилиндрической формы;
- дополнительная емкость для верхней части агрегата, в которую будет подаваться сено, трава, солома;
- дополнительное отверстие в боковой части, чтобы было откуда поступать переработанному материалу;
- приемник готовой продукции (ведро, коробка и пр.).
Из пылесоса
Потребуется только корпус пылесоса и его двигатель.
Понадобятся:
- мощность двигателя может быть равна 180 Вт, этого достаточно;
- ножи, из ненужных ножовок, закрепить гайками на втулке с резьбой (примерная длина – 40 мм). Закрепить внизу емкости и болтами над ножами;
- отверстие для измельченной травы попытаться проделать под ножками или в боку;
- чтобы защитить электродвигатель, основание должно обязательно быть устойчивым.
Из болгарки
Принцип создания самодельного измельчителя травы из болгарки, как и в предыдущих агрегатах:
- подобрать емкость;
- просверлить в дне отверстие, для того чтобы установить режущий блок;
- изготовить металлическую основу и приделать к нему болгарку, тщательно закрепив хомутами.
https://youtube.com/watch?v=U_oTg1bFpEo
Плюсы и минусы
Шредеры с электроприводом удобны в обращении, просты в обслуживании и имеют следующие достоинства по сравнению с бензиновыми:
- нулевой уровень загрязнения окружающей среды,
- низкая шумность и виброактивность,
- небольшой вес, бытовые модели легко перемещать по саду,
- доступная цена,
- удобное управление и запуск, мгновенная остановка.
Имеются у них и недостатки:
- ограниченная мощность и, следовательно, производительность,
- необходимость в проводах,
- чувствительность к стабильности электроснабжения.
Изготовленный самостоятельно дробитель справляется с крупными ветками и менее чувствителен к качеству сырья. Если подобрать достаточно мощный двигатель, он будет перемалывать ветки до 80 мм толщиной.
Вторым важным преимуществом самодельной конструкции будет ее низкая стоимость.
Дешевле обойдется и ремонт, и замена изношенных узлов.
Инструкция по сборке двухвалкового шредера
Работы начинаются с создания рамы. Для этого с помощью угловой шлифмашинки из профильной трубы нарезаются две заготовки длиной 80 см и четыре детали длиной 40 см. Далее между двумя длинными заготовками под прямым углом сваривают короткие отрезки. Две внутренние детали должны размещаться на таком расстоянии относительно друг от друга, чтобы обеспечить надежную установку измельчительного барабана.

Чертеж для сборки валов двухвалкового измельчителя
Следующим этапом является создание валов для измельчительного барабана. Если планируется установить на один вал четыре ножа, то тогда используем квадратную металлическую заготовку. Делаем оба ее конца круглой формы, чтобы они смогли войти в подшипники. Для трех ножей понадобится круглая заготовка, в которой оттачивается центральная часть. В ней делается три плоских среза для последующей установки ножей.
Для создания ножей можно взять небольшой отрезок листа рессоры Камаза. В ножах делаются отверстия для болтов. Затем следует выполнить заточку ножей на точильном станке, где выбирается угол режущей кромки со значением 35-45 градусов. Далее заточенные ножи прикладываются к валу и помечаются места их крепления, в которых создаются отверстия, и нарезается резьба.
Далее приступаем к созданию измельчительного механизма. В двух металлических стенках с помощью сварочного аппарата делаются круглые отверстия для установки подшипников. С помощью специальных накладок и болтов устанавливаем подшипники внутрь металлических стенок. В подшипники вставляем валы, надежно закрепляя их. Они должны располагаться на достаточном расстоянии, чтобы исключить возможность их соприкосновения. Далее соединяются стенки барабана с помощью металлических шпилек с резьбой и гаек.

Чертеж расположения валов на раме двухвалкового шредера
Теперь приступаем к созданию приемного бункера. Для этого из тонкого листового металла вырезается четыре параллелепипеда. Далее каждый край загибается на 4 см. Короткий участок в одну сторону, длинный – в противоположную. С помощью самозатягивающихся заклепок или сварки соединяем все детали. На отогнутых краях у основания короба делаются отверстия для крепежа.
Теперь на валы надеваются шестеренки, для синхронизации движения, и вся конструкция устанавливается на раму и закрепляется при помощи болтов. Затем устанавливается двигатель, который соединяется с валом ременной передачей или цепью. Двигатель лучше брать большой мощности, но с малым числом оборотов. В конце устанавливается и закрепляется приемный бункер. Затем на все вращающиеся части шредера надевается защитный кожух во избежание попадания в измельчитель посторонних предметов.
Главными преимуществами такого агрегата является высокая мощность и техническая способность измельчить толстые ветки в диаметре от 20 до 80 мм. Это будет зависеть от количества ножей и числа оборотов. На многочисленных сайтах в сети интернет представлены подробные рекомендации, как сделать измельчитель веток своими руками. Видео примеры более наглядно отображают весь процесс сборки и монтажа самодельного устройства.

Двухвалковый измельчитель, сделанный своими руками
Что за аппарат, сфера назначения
Как только землю согревают первые лучи весеннего солнышка, огородники выходят на бой с лишней растительностью на своем участке, мешающей развитию полезных культур.
Но прополка, прореживание, уборка сухой листвы и травы заканчивается захламлением участка мусором, который не только портит внешний вид ландшафтного дизайна, но и способен вызывать многочисленные заболевания растений.
Что же делать в такой ситуации? Оставлять мусор недопустимо, а сжигать – рискованное дело по причине введений запрета поджога травы в городской черте согласно новому российскому законодательству.
Вывозить мусор за свой счет нерентабельно, да и жаль терять сырье для столь ценного компоста. И здесь становится просто незаменимым такой агрегат, как измельчитель, который одновременно решит все проблемные вопросы.
Садовый измельчитель травы – это новое слово в сельскохозяйственной технике, позволяющей заметно облегчить работу на земельном участке и забыть о головной боли по поводу избавления от ненужной травы. Представляющий собой емкость с рядом лезвий и мощным мотором, данный агрегат способен измельчить любую травы в считанные секунды.
Сорняки, колючки, сухостой, листва и прочий мусор перерабатываются в мелкий компост, который уже не занимает много места, а складируется для дальнейшего его использования в качестве удобрения грядок.
В случае, если у вас нет необходимости удобрения участка, не составит труда упаковать излишки компоста в пакеты и вывезти со своей территории, что было просто невозможным с теми кучами растительного хлама, которыми были сорняки до переработки.
Если под переработку попадают щепы, то они нередко используются и в качестве топлива. Древесная щепа, переработанная посредством измельчителя, формируется в пеллеты и становится прекрасным видом печного топлива, заменяющим дрова и уголь. При желании формировать пеллеты можно и в домашних условиях.
Таким образом, плюсов от покупки шредера множество, именно поэтому он завоевал мировую популярность и становится все более востребованным в нашей стране, не только в крупных фермерских хозяйствах, но и в частных землевладениях.





