Гидравлический пресс: чертежи и конструкции
Для домашних условиях вполне хватает пресса, который создает усилия в 15-25 тонн или же меньше – это зависит от требуемых задач. Помимо усилия, это устройство имеет такие основные критерии:
- вес;
- размеры;
- рабочие характеристики станины;
- наличие манометра;
- ход поршня.
В рабочем цилиндре для создания давления применяется, как правило, ручной отдельный или встроенный гидравлический насос. Это будет зависеть от выбора оборудования для сборки пресса. Простейший, легко изготавливаемый вариант пресса – это конструкция основана на гидравлическом домкрате бутылочного вида, где находится встроенный ручной насос.
Перед тем как приступить к сборке гидравлического пресса своими руками, нужно определиться, под какие нужды он будет использоваться и, естественно, какое усилие ему необходимо. Затем нужно выбрать и купить необходимый домкрат, в случае, если он используется при изготовлении пресса.
Дальнейший, самый главный этап – создание чертежа собираемого пресса. Все предлагаемые в интернете для изготовления гидравлического пресса чертежи, разработаны и выполнены на основе уже имевшихся в наличии гидравлического оборудования и металлических материалов. Поэтому, если четко следовать чужим схемам, то изготовление пресса своими руками может растянуться навечно и будет состоять в подгонке и переделке, взятой за основу схемы под купленный гидравлический домкрат.
При выполнении чертежа сперва необходимо подобрать схему работы оборудования:
- домкрат закреплен сверху станины и давит книзу;
- домкрат расположен на основании станины и давит кверху.
Причем не стоит забывать, что для изготавливаемых домкратов нормальное рабочее положение, которое предусматривается заводом — вертикальное, с выходным штоком наверх. Нельзя переворачивать домкрат!
Чаще всего выбирается второй вариант. Первый более удобен для определенных видов работ, например, для выпрессовывания подшипников из каких-то деталей, втулок.
Проектирование чертежа пресса
Затем проектируют станину – раму, где внутри домкрат будет давить на изделия. Рама обязана быть прочной и подразумевать усилие, которое развивает домкрат, с запасом, потому что приводимый в работу пресс начнет давить одновременно вверх и вниз, пытаясь разорвать станину. Основание рамы обязано обеспечивать достаточную стойкость пресса и, лучше всего, быть в форме платформы. Ширина проема станины будет зависеть от габаритов, предназначенных для прессовки материалов, но она обязана быть не меньше, нежели сумма ширин находящихся элементов оборудования пресса.
Высота суммируется из габаритов домкрата, требуемого свободного перемещения его штока, высоты предназначенных для прессовки деталей и толщины передвижного рабочего стола. При схеме второй работы, домкрат крепится на основание, а упором для изделий служит верх рамы. Давление от штока передается на деталь с помощью передвижного рабочего стола. Его устанавливают сверху домкрата на станину, по которой он обязан свободно передвигаться вверх-вниз, удерживаемый направляющими по бокам.
С двух сторон домкрата закрепляют пружины: одной проушиной к основе рамы, а второй — к подвижному столу. Их предназначение – сжатие домкрата в изначальное состояние, когда шток не выступает (размер и жесткость пружин подбираются соответствующими). Также можно сделать вариант, когда на шток надето приспособление в форме оправки, куда крепят одну проушину, а другую крепят к основанию.
Первая схема работы пресса подразумевает, что упором для изделий будет являться основание рамы, а домкрат крепится на подвижный стол, подвешенный к верху станины на пружинах. Под основание штока домкрата в двух схемах делают гнездо на узле сопряжения. Это может быть небольшой кусок трубы соответствующего диаметра.
Для регулирования свободного перемещения штока домкрата и, естественно, высоты обрабатываемых деталей возможны такие решения:
- предусматривают установку заменяемых вставок-подкладок из полого или сплошного металлического профиля;
- сделать съемный упор в форме перемещаемого рабочего стола, который можно зафиксировать на станине прутками или гайками и болтами. Для этого в раме делают отверстия с дистанцией по высоте меньше перемещения штока домкрата;
- сверху рамы устанавливают винтовой привод со штурвалом. Подкручивая винт с плитой на окончании, можно снизить просвет для изделий внутри рамы;
- комбинированное использование вышеописанных вариантов.
Все размеры в проекте обязаны указываться с учетом габаритов объектов прессования, домкрата, а также размеров предполагаемого металлопроката для использования во время изготовления пресса своими руками.
Как сделать гидравлический пресс для макулатуры своими руками: чертежи
В последние годы объем различной бумажной продукции, которую использует человек в своей жизни и работе, постоянно увеличивается. Выбрасывать ненужные газеты, журналы и прочую макулатуру – не рационально, ведь используя обычный гидравлический пресс, из нее можно сделать брикеты для отопления дома.
Стоимость подобных станков для макулатуры на рынке достаточно высокая. Но каждый, кто умеет работать со сварочным аппаратом, имеет некоторые знания из гидравлики и располагает необходимыми материалами и чертежами, может сделать такое устройство своими руками.
Работа изготовленного собственноручно гидравлического пресса основана на передаче усилия при перекачке той или иной жидкости: масло перекачивается под давлением из цилиндра, воздействуя на поршень. В результате этого и происходит сильное воздействие на макулатуру, в результате чего она спрессовывается.
Любой фирменный или сделанный своими руками пресс состоит из таких основных частей:
- гидравлический насос или домкрат с гидроцилиндрами;
- станина и каркас;
- электродвигатель;
Перед тем как приступать к самостоятельному изготовлению гидравлического пресса, проводят требуемые расчеты, определяются с объемом цилиндров и камеры для загрузки макулатуры, создается схема будущего станка.
При отсутствии технического или инженерного образования сделать это своими руками сложно, поэтому лучше воспользоваться готовыми чертежами.
Разработка основания и опорной платформы
Сам процесс изготовления такого станка начинается с разработки пресс-формы: она представляет собой металлический короб прямоугольной формы, дно и крышка которого – съемные. Размеры такой формы определяют размеры брикетов макулатуры, которые можно будет делать с его помощью. Поэтому ее высоту и ширину каждый определяет своими руками.
Основание и опорная платформа для домкрата или гидронасоса должны быть максимально прочными, поскольку именно на них приходиться получаемое давление при работе пресса.
Чтобы сделать такие части гидравлического пресса, можно использовать обычный металлический профиль прямоугольного или квадратного сечения. Отрезав несколько деталей нужной длины, их прикладывают один к другому боковыми стенками, сваривая с обеих сторон швы сварочным аппаратом.
Из таких же элементов можно сделать и стойки упора, которые нужно приварить к основанию производимого гидравлического станка.
Следующий этап – разработка съемного упора, который будет перемещаться по стойкам, передавая при этом давление от домкрата на обрабатываемый материал. Для этого подойдут отрезки стальной полоски, длина которых должна быть немного меньшей, чем расстояние между стойками. Соединив сваркой такие отрезки, такая самостоятельно сделанная деталь фиксируется для перемещения по стойкам. Для этого используются две стальные пластины, длина которых равна длине упора вместе с шириной стоек. Проделав отверстия в этих пластинах и упоре, при помощи обычных гаек они соединяются между собой так, чтобы пластины располагались по обе стороны стоек.
Последний этап самостоятельной разработки гидравлического пресса – установка домкрата. Мощность такого станка будет зависеть только от мощности используемого домкрата. Для достижения высокой мощности работы аппарата потребуется использование электропривода. В результате этого можно будет прессовать различную макулатуру своими руками, используя получившиеся брикеты как эффективный вид топлива.
Готовый гидравлический пресс
Сборка съемного упора гидродомкрата
Высота вертикальных створок зависит от наибольшего выхода штока, параметров корпуса гидравлического домкрата, толщины съемного упора. Нижний упор и платформа пресса должны быть одной длины.
Опорную платформу, стойки и упор соединяют так, чтобы получилась рама прямоугольной формы. При этом все элементы должны быть установлены строго под углом 90 градусов. Чтобы обеспечить это, используются металлические уголки.
Упор изготавливается из металлических полосок, толщина которых не менее 1 см. Стальные полосы соединяются друг с другом электросваркой. Образуется упор, который во время использования пресса будет с помощью направляющих перемещаться в вертикальной плоскости
Важно обеспечить еще одно условие — упор должен легко сниматься, потому что работать предстоит с различными объектами. Чтобы это обеспечить, в стальных полосах делают сквозные отверстия
Одновременно такая мера позволит зафиксировать упор во время движения.
Далее, нужно подготовить стальные пластинки. Они должны быть больше на 10 см блока из металлических пластин. В пластинках нужно сделать по два отверстия, сходных с теми, которые были сделаны ранее.
Для установки съемного упора используются гайки и шайбы соответствующих размеров.
Также для сборки упора допускается применять фрагмент трубы квадратной или прямоугольной формы — такой же, какой применялся и для сборки станины. Длину отрезка нужно выбирать в зависимости от расстояния между стойками: кусок трубы должен быть немного меньше. К нему так же, как и в первом случае, по бокам крепятся стальные пластинки.
На нижней части платформы в центре закрепляется фрагмент трубы (1-1,5 мм) достаточного диаметра, чтобы в него без труда заходила верхняя часть штока бутылочного домкрата.
Затем на одинаковом расстоянии от этой трубы устанавливают пружины. Когда шток будет выдвигаться, пружины раздвинутся, а затем вернутся в прежнее положение после стравливания давления.
На финальном этапе устанавливают сам домкрат. Сначала упор оттягивают, а затем закрепляют домкрат между платформой и упором. При этом шток должен в исходном положении упираться в фиксатор.
https://youtube.com/watch?v=Tr-b3smwPkY
Как сделать пресс из домкрата своими руками?
В основу данного оборудования входит надежная рама. Она изготавливается из швеллера или металлических углов.

Как сделать самодельный пресс из домкрата своими руками, чертеж
| Шаг | Описание |
|
|
1 (упорна балка сверху); 2 (крепежные элементы); 3 (домкрат до 20 т); 4 (пружинный механизм); 5 (подвижная конструкция); 6 (стопор); 7 (приспособление для регулировки); 8 (поперечная конструкция); 9 (опорные ножки). |
| Все надежно закреплено | Возможны два варианта: при помощи, что надежнее. Есть монтаж на болтах |
|
|
Здесь необходимо точно рассчитать усилие пресса |
|
|
Опорный элемент можете придумать сами, в зависимости от воображения. Наличие перекладины снизу обязательно, для жесткости. |
Совет! При производстве гидравлического пресса из домкрата в первую очередь нужно обеспечить прочность рамы, именно на нее будет оказываться нагрузка.
Какой домкрат подойдет для нашей конструкции
На сегодняшний день чаще всего используется для производства гидравлического пресса стаканный домкрат. Есть недорогие устройства, которые в состоянии выжимать более двадцати тонн.

Стаканный гидравлический домкрат
Примечание! Но есть проблема в использовании подобного оборудования, они не способны функционировать в перевернутом состоянии.
Вроде логично, закрепить домкрат на верхней балке, а нижнюю использовать, как опору, но в этом случае домкрат придется дорабатывать.
Переделка конструкции:
- Вариант 1: устанавливаем бак и связываем его с отверстием для заливки домкрата при помощи силиконовой трубки.
- Вариант 2: потребует новой разработки самого домкрата.
Работа системы прижима
Чтобы сделать пресс из гидравлического домкрата своими руками, предусматривается формирование штока. Многие мастера утверждают, что он не удобен в работе. Нужна большая площадь для разработки различных, крупных пресс-форм и деталей больших габаритов.
В роли колодок можно использовать чушки, в которых делаются глухие отверстия для укрепления с основной конструкцией пресса. Если нет финансовых возможностей, то узлы можно изготовить самостоятельно. В балке нужно сделать отверстие, куда должна войти пятка домкрата, практически без зазора. Затем делаем несколько отверстий для возвратного механизма.

Балки изготавливаем с открытыми гранями
Затем в верхней части узла привариваем отрезок трубы для посадки домкрата. Нижнюю часть привариваем при помощи уголков.
Роль переставной опорной балки
Для крепления переносной балки, подойдут стальные массивные пальцы. На вертикальной части рамы делаем ряд круглых просечек на разной высоте. Диаметр просечек должен совпадать с сечением всех болтов.

Крепление опорной балки
Установка возвратного механизма
Последняя деталь в конструкции гидравлического пресса, это возвратный или пружинный механизм. Здесь можно вставить обычные пружины для дверей. Задача может значительно усложниться при использовании верхней бабки, так как собственный вес может не позволить сжиматься пружинному механизму.

Увеличиваем число пружин
Совет! Один из вариантов, это увеличение числа пружин до 6-ти или использование более мощных деталей.
Если отсутствует верхняя колодка, то рекомендуется закрепить пружину к штоку при помощи шайбы. Если образовались излишки длины пружины, можно расположить их в наклонном состоянии.
https://youtube.com/watch?v=cFw566TfWYE
https://youtube.com/watch?v=Ri7_QvBj_mU
Что следует учитывать при разработке чертежа самодельного пресса
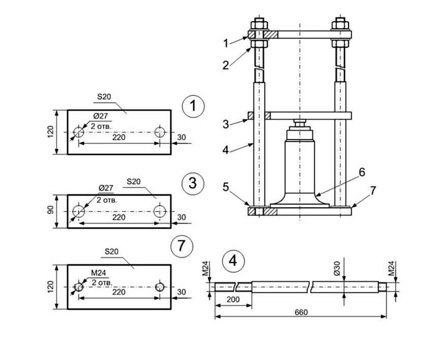
Несущим элементом любого пресса, в том числе и самодельного, является станина, к разработке чертежа которой следует подойти максимально ответственно. Конструктивно станина представляет собой раму, внутри которой располагается домкрат с рабочим инструментом, оказывающим давление на деталь или заготовку.
Вид станины может значительно отличаться в зависимости от назначения пресса
Нижнюю часть станины – ее основание – разрабатывают с учетом того, что она должна обеспечивать высокую устойчивость всей конструкции. Рассчитывая ширину внутреннего проема рамы самодельного пресса, учитывают как размеры деталей и заготовок, которые на нем будут обрабатываться, так и суммарные габариты всех составных элементов будущего пресса.
Еще один вариант станины с простейшей конструкцией основания для обеспечения устойчивости
При расчете высоты внутреннего проема рамы суммируют следующие параметры: высоту домкрата, желаемую величину свободного хода его штока, толщину рабочего органа и детали, которую необходимо обрабатывать. Если самодельный пресс изготавливается по первой схеме, то его конструкция выглядит следующим образом: домкрат устанавливается на нижнее основание, а деталь – в верхней части рамы; усилие от домкрата на деталь передается через его шток и подвижную рабочую платформу, двигающуюся по направляющим в боковых элементах рамы.
https://youtube.com/watch?v=YRsNX2oC7Ic
Для того чтобы обеспечить возврат штока в исходное состояние, используются две пружины, нижняя часть которых крепится к основанию, а верхняя – к подвижной рабочей платформе
Если вы решили сделать пресс из домкрата своими руками, то очень важно правильно рассчитать жесткость пружин, чтобы они эффективно выполняли все возложенные на них функции
При реализации второй схемы на нижнее основание помещается деталь, а домкрат устанавливается на подвижную платформу, к которой также крепятся пружины, связывающие ее с верхней перекладиной рамы. Как в первом, так и во втором случае в месте контакта штока с подвижной платформой или верхней перекладиной рамы делается так называемое гнездо, в качестве которого можно использовать отрезок трубы соответствующего диаметра.
Невозможность регулировки высоты рабочей зоны упрощает конструкцию, но значительно ограничивает варианты использования пресса
Гидравлический пресс, сделанный своими руками, будет намного удобнее в эксплуатации, если предусмотреть в нем возможность регулировки свободного штока домкрата, что также влияет на допустимую высоту обрабатываемой детали. Для этого можно сделать следующее.
- В верхней части внутреннего контура рамы располагают дополнительную плиту, которая может передвигаться по направляющим за счет винтового привода с штурвалом. Тем самым можно в достаточно широких пределах изменять просвет для расположения деталей внутри рамы.
- Можно изготовить съемный упор, в качестве которого чаще всего используют передвижную съемную платформу. Фиксировать положение такого упора внутри рамы можно при помощи болтовых соединений, для которых в раме с определенным шагом просверливаются отверстия. При этом шаг расположения таких отверстий по высоте не должен превышать величины свободного хода штока домкрата.
- Из сплошного куска металла или металлического профиля можно изготовить несколько сменных вставок-прокладок разной толщины.
- Можно также использовать сразу несколько вышеописанных способов одновременно.
https://youtube.com/watch?v=bsASMiV2Cig
Что такое гидравлический пресс
Под гидравлическим прессом понимают особый агрегат, предназначенный для эксплуатации в гаражном или ином хозяйственном строении, который позволяет обрабатывать детали посредством воздействия на них значительным усилием сжатия.
Обычно подобным оборудованием пользуются мастера в автомобильных мастерских. Кроме того, его можно использовать для изготовления топливных брикетов или, когда есть необходимость задать изделиям из металла определённую форму.

Инструмент заводского изготовления имеет внушительную стоимость, вследствие чего всё больше людей интересуются тем, как можно сделать пресс своими руками. Вначале нужно изучить специфику конструкционного решения данного устройства, а также принцип его работы.
Как видно на фото самодельного гидравлического пресса, он состоит из двух базовых камер цилиндрической формы. В той, что имеет меньший объём, осуществляется рост давления за счёт того, что через трубовидный канал происходит перекачка масла во вторую ёмкость, большей вместимости.


Ремонт пресса гидравлического из домкрата своими руками
Для поддержания длительной работоспособности пресса гидравлического, выполненного на базе домкрата, самодельное устройство нуждается в правильной эксплуатации и обслуживании. В процессе работы необходимо следить за уровнем масла в гидравлическом цилиндре, смазывать подвижные детали, проверять состояние уплотнительных соединений, надежность закрепления элементов сборки.
Для поддержания работоспособности пресса необходимо следить за уровнем масла в гидравлическом цилиндре, проверять надежность закрепления элементов и смазывать подвижные детали
Однако в любом механизме может произойти сбой в работе, что является причиной неправильной эксплуатации или износа отдельных элементов конструкции. Если созданный своими руками пресс гаражный гидравлический остановился или не запускается, следует проверить уровень масла в гидроцилиндре. При его недостаточном объеме потребуется выполнить заполнение емкости с последующей прокачкой домкрата.
Если наблюдается утечка жидкости, это свидетельствует о механическом повреждении конструкции или поломке отдельных ее элементов. Для устранения дефекта необходимо разобрать домкрат, проверить все его детали на предмет отсутствия коррозионных повреждений. Шток осматривается на наличие деформаций. Поврежденные элементы следует заменить на новые. Рабочее масло необходимо полностью слить. Внутреннюю полость домкрата и все его элементы промывают керосином и высушивают. Старые уплотнительные прокладки и манжеты требуется заменить на новые.
Другие неполадки при работе сделанного своими руками пресса из гидравлического цилиндра
Если наблюдается недостаточный уровень усилия пресса ручного гидравлического, своими руками выполненного, или механизм работает прерывисто, такая проблема связана с возможным попаданием в полость домкрата воздуха, что негативно отражается на работе поршня. Для устранения повреждения в цилиндр следует добавить рабочую жидкость, удалив воздух через трубочки.
Низкое давление механизма объясняется повреждением клапана, который отошел от отсеков, загрязнился или же в нем ослабли пружины. В первых двух случаях проводится ремонт или замена элемента. Очистка клапана выполняется при помощи влажной ткани с последующей сушкой элемента. В случае сильного загрязнения механизм промывается керосином или бензином и просушивается сжатым воздухом. Если причина кроется в износе пружин, их необходимо поменять на новые элементы.
При попаданием в полость домкрата воздуха, наблюдается недостаточный уровень давления пресса
Важно! Если у домкрата поврежден корпус или поршень, требуется полная замена механизма, который не подлежит ремонту. После разборки домкрата для выполнения ремонтных работ механизм требуется собрать с соблюдением определенных условий
Клапаны должны плотно прилегать к посадочным местам. Необходимо, чтобы в гидроцилиндре находилось достаточное количество жидкости. В системе должен отсутствовать воздух
После разборки домкрата для выполнения ремонтных работ механизм требуется собрать с соблюдением определенных условий. Клапаны должны плотно прилегать к посадочным местам. Необходимо, чтобы в гидроцилиндре находилось достаточное количество жидкости. В системе должен отсутствовать воздух.
Гидравлический пресс является многофункциональным универсальным оборудованием, которое может использоваться для решения разных задач, где необходимо приложить усилия. Инструмент можно приобрести в специализированном магазине или сделать пресс своими руками из гидравлического домкрата, что позволит сэкономить финансы
Для этого важно правильно выбрать необходимый материал и придерживаться алгоритма сборки элементов
Процесс изготовления
Когда чертеж вашего будущего гидравлического пресса готов, а все необходимые материалы, инструменты, оборудование и комплектующие в наличии, переходят непосредственно к изготовлению. Первое, что необходимо сделать, – это нарезать весь металл, руководствуясь размерами, указанными в чертеже.
Один из вариантов чертежа для изготовления пресса
Теперь следует сделать основание пресса, для чего сваривают между собой подготовленные квадратные трубы, а на сформированный из них прямоугольник наваривают стальную пластину. Затем сваривают между собой боковые и верхнюю часть рамы, тщательно следя за тем, чтобы полученная П-образная конструкция была ровной и имела строго прямые углы в соединениях. Теперь полученную конструкцию следует приварить к основанию и можно считать, что рама для вашего гидравлического пресса готова.
Следующий элемент, который вам необходимо будет сделать для пресса, – это подвижная платформа. Для ее изготовления можно использовать швеллер, квадратную или прямоугольную трубу. В центральной части платформы приваривают отрезок трубы, который будет служить гнездом для головки штока домкрата. Для изготовления направляющих для рабочей платформы вам потребуются две стальные полосы, длина которых должна соответствовать ширине рамы пресса по ее внешнему контуру.
Вариант конструкции пресса с подвижной нижней платформой, фиксация которой производится болтами
Полосы крепят к боковым сторонам передвижной платформы при помощи болтовых соединений, предварительно заведя ее внутрь рамы. По такой же схеме изготавливается и съемный упор, но в его направляющих полосах просверливаются отверстия напротив стоек рамы для фиксации на нужной высоте. Завершает процесс изготовления гидравлического пресса своими руками установка оттягивающих пружин и самого домкрата. Удобен такой гидравлический пресс еще и тем, что вы всегда сможете извлечь из него домкрат (например, если вам необходимо использовать его для ремонта автомобиля).
Внешний вид готового самодельного пресса
https://youtube.com/watch?v=32m6xXQeudU
Всем привет, в этой инструкции мы рассмотрим процесс изготовления очень простого пресса для гаража
С помощью него можно очень удобно небольшими усилиями снимать или устанавливать подшипники, причем не важно, работать нужно с валом или втулкой. Сделан станок из очень простых материалов, в качестве основного силового элемента используется гидравлический домкрат. Если проект вас заинтересовал, предлагаю ознакомиться с ним более детально
Если проект вас заинтересовал, предлагаю ознакомиться с ним более детально.
https://youtube.com/watch?v=EJ1irCRAtWg
Материалы и инструменты, которые использовались автором:
Список материалов:– швеллер (на 80);– профильная труба (квадратная, 40Х40, толщина стенок 3 мм);– стальной уголок;– гидравлический домкрат;– болты, гайки и другие мелочи.
Список инструментов:– сварочный аппарат;– ленточный отрезной станок или болгарка;– сверлильный станок;– гаечные ключи.
Шаг первый. ОснованиеВ качестве основания нам понадобится кусок швеллера на 80 размерами 40 см. В нем нужно будет просверлить отверстия, в них будут устанавливаться матрицы для установки или снятия подшипников.
Шаг третий. НаправляющаяОсталось сделать направляющую, на которую мы будем устанавливать домкрат. Автор ее делает также из профильной трубы. На концах направляющей установлены специальные кронштейны из уголка, благодаря которым направляющая ездит вверх/вниз по стойкам. А чтобы направляющую можно было снять, она крепится к кронштейнам при помощи болтов с гайками. В завершении автор устанавливает пружины, чтобы направляющая сама возвращалась в исходное положение. Пружины должны быть довольно мощными, так как нужно поднимать домкрат и преодолевать давление штока.
Под шток, кстати, в верхней части нужно сделать специальный упор, для этого подойдет кусок круглой трубы по диаметру штока.
Шаг четвертый. ИспытанияВот и все, наш чудо-станок готов, можно испытывать. Для начала автор попробовал снять подшипники со старого якоря, сделать это съемниками не получалось. Его станок с легкостью справился с этой задачей.
В качестве еще одного примера автор запрессовал подшипник в стальную втулку, это получилось быстро и качественно.
Вот и все, проект на этом можно считать оконченным, надеюсь, он вам понравился. Удачи и творческих вдохновений, если решите повторить. Не забывайте делиться своими самоделками с нами.








